Запчасти Komatsu PC60-6 ПРАВ. СТОЙКА И РЫЧАГ (ЗАДН.) (ДЛЯ WRIST РЫЧАГ УПРАВЛ-Я) ЧАСТИ КОРПУСА

Схема запчастей Komatsu PC60-6 - ПРАВ. СТОЙКА И РЫЧАГ (ЗАДН.) (ДЛЯ WRIST РЫЧАГ УПРАВЛ-Я) ЧАСТИ КОРПУСА
FIT
1:1
100%

Артикул

Название

Примечание

Количество

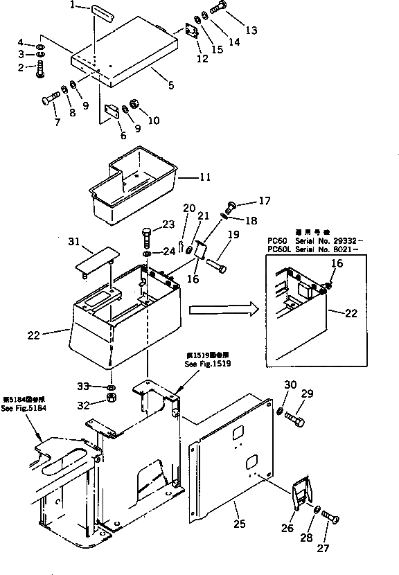
1

20Y-06-16330

HANDLE

2

01220-40510

SCREW

3

01601-20513

WASHER,SPRING

4

01641-20508

WASHER

5

20Y-06-16322

COVER

5

20Y-06-16321

COVER

6

09452-14503

CATCHER

7

01220-40310

SCREW

8

01601-20307

WASHER,SPRING

9

01641-20305

WASHER

10

01580-10302

NUT

11

20Y-06-16341

TRAY

12

20Y-06-16350

HINGE

13

01220-40510

SCREW

14

01601-20513

WASHER,SPRING

15

01641-20508

WASHER

16

20Y-06-16581

SPRING

16

20Y-06-16580

SPRING

17

01220-40610

SCREW

18

01641-20608

WASHER

19

234-820-1210

PIN

20

04052-10530

PIN,SNAP

21

01641-20812

WASHER

22

20Y-06-16312

BOX

22

20Y-06-16311

BOX

23

01010-50816

BOLT

24

01643-30823

WASHER

25

20Y-06-16271

COVER

26

20Y-43-16250

COVER

27

01220-40408

SCREW

28

01641-20405

WASHER

29

01010-50820

BOLT

30

01643-30823

WASHER

31

203-06-59310

COVER

32

01580-10605

NUT

33

01643-30623

WASHER

Выбрано товаров: 36