Запчасти Komatsu PC60-6 РЫЧАГ БЛОКИРОВКИ МЕХ-М УПРАВЛ-Я (С ХОД БЛОКИР.) (ДЛЯ WRIST УПРАВЛ-Е) (СТАНДАРТН. ДЛЯ СШАONLY)(№887-) ЧАСТИ КОРПУСА

Схема запчастей Komatsu PC60-6 - РЫЧАГ БЛОКИРОВКИ МЕХ-М УПРАВЛ-Я (С ХОД БЛОКИР.) (ДЛЯ WRIST УПРАВЛ-Е) (СТАНДАРТН. ДЛЯ СШАONLY)(№887-) ЧАСТИ КОРПУСА
FIT
1:1
100%

Артикул

Название

Примечание

Количество

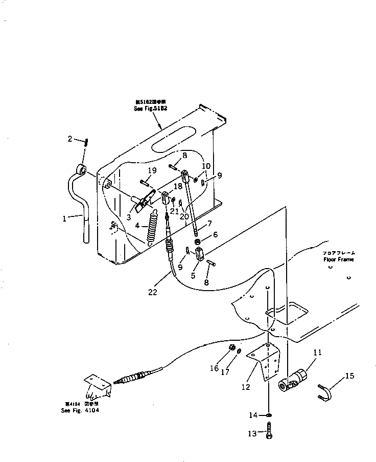
1

20Y-43-16211

LEVER

2

04025-00432

PIN,SPRING

3

203-43-59360

LEVER

4

208-43-51420

SPRING

5

04211-20634

YOKE

6

01580-10605

NUT

7

04244-50630

ROD

8

04205-10618

PIN

9

04052-10633

PIN,SNAP

10

01641-20608

WASHER

11

203-62-58870

VALVE

12

203-62-58890

BRACKET

13

01010-51225

BOLT

14

01643-31232

WASHER

15

07283-23442

CLIP

16

01599-01011

NUT

17

01643-31032

WASHER

18

20T-43-12160

YOKE

19

04205-10618

PIN

20

04050-11612

PIN,COTTER

21

01641-20608

WASHER

22

203-43-59370

CABLE

Выбрано товаров: 22