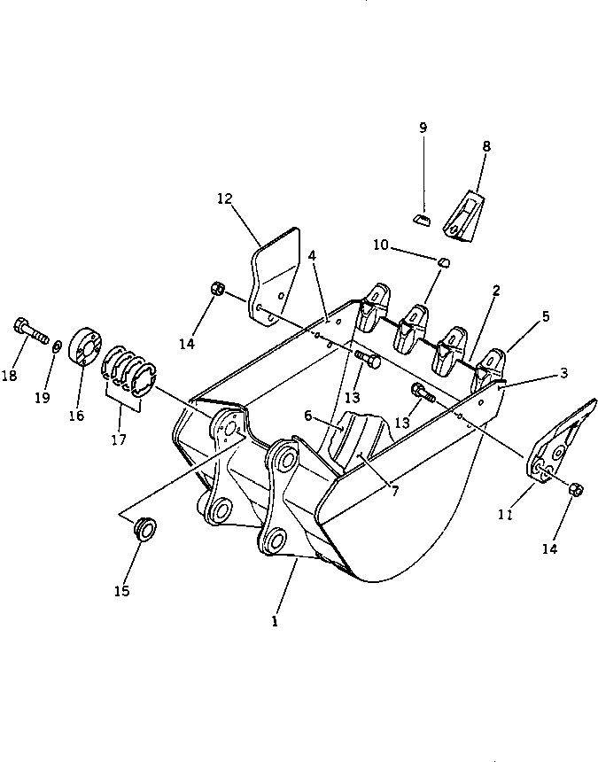
Запчасти Komatsu PC60-6C КОВШ¤ .M ШИР. 7MM РАБОЧЕЕ ОБОРУДОВАНИЕ

Схема запчастей Komatsu PC60-6C - КОВШ¤ .M ШИР. 7MM РАБОЧЕЕ ОБОРУДОВАНИЕ
FIT
1:1
100%

Артикул

Название

Примечание

Количество

|$0

20X-70-00240

BUCKET ASS'Y

1

20X-70-23111

BUCKET

2

20X-70-23120

LIP (WELDED)

3

20X-70-23140

PLATE,L.H. (WELDED)

4

20X-70-23130

PLATE,R.H. (WELDED)

5

20X-70-23150

ADAPTER (WELDED)

6

20X-70-27130

PLATE (WELDED)

7

20X-70-27150

PLATE (WELDED)

8

20X-70-23160

TOOTH

9

203-70-43212

PIN

10

203-70-43220

LOCK

11

20X-933-1110

SIDE CUTTER,L.H.

12

20X-933-1120

SIDE CUTTER,R.H.

13

01802-02268

BOLT

14

01803-02228

NUT

15

20X-70-24231

SPACER

16

20X-70-24241

PLATE

17

20X-70-24250

PLATE, 0.5MM

18

01010-51260

BOLT

19

01643-31232

WASHER

Выбрано товаров: 20