Запчасти Komatsu PC60-6C КОВШ¤ .M ШИР. MM РАБОЧЕЕ ОБОРУДОВАНИЕ

Схема запчастей Komatsu PC60-6C - КОВШ¤ .M ШИР. MM РАБОЧЕЕ ОБОРУДОВАНИЕ
FIT
1:1
100%

Артикул

Название

Примечание

Количество

|$0

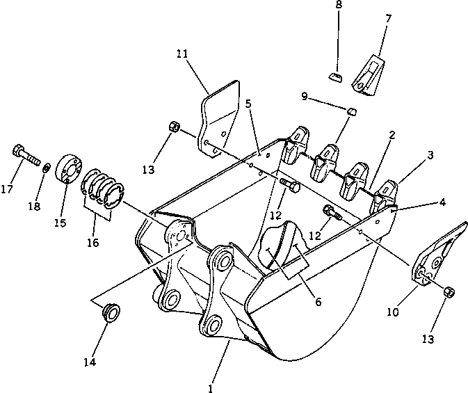
201-70-00440

BUCKET ASS'Y

1

201-70-53111

BUCKET

2

201-70-53120

LIP (WELDED)

3

20X-70-23150

ADAPTER (WELDED)

4

201-70-53140

PLATE,L.H. (WELDED)

5

201-70-53130

PLATE,R.H. (WELDED)

6

201-70-53180

PLATE (WELDED)

7

20X-70-23160

TOOTH

8

203-70-43212

PIN

9

203-70-43220

LOCK

10

20X-933-1110

SIDE CUTTER,L.H.

11

20X-933-1120

SIDE CUTTER,R.H.

12

01802-02268

BOLT

13

01803-02228

NUT

14

20X-70-24231

SPACER

15

20X-70-24241

PLATE

16

20X-70-24250

PLATE, 0.5MM

17

01010-51260

BOLT

18

01643-31232

WASHER

Выбрано товаров: 0