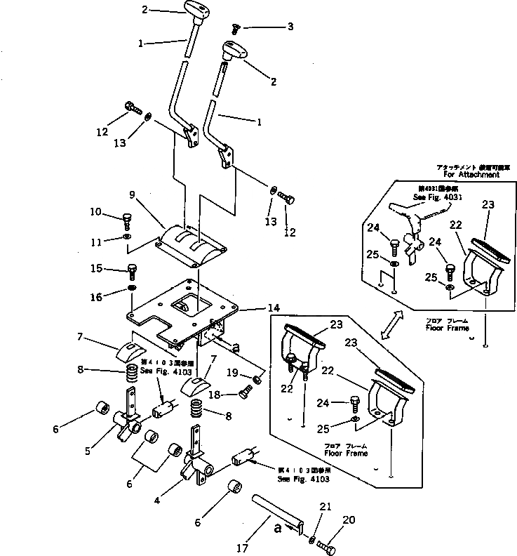
Запчасти Komatsu PC60-6C РЫЧАГ УПРАВЛ-Я ХОДОМ И ПЕДАЛЬ(№-) СИСТЕМА УПРАВЛЕНИЯ И ОСНОВНАЯ РАМА

Схема запчастей Komatsu PC60-6C - РЫЧАГ УПРАВЛ-Я ХОДОМ И ПЕДАЛЬ(№-) СИСТЕМА УПРАВЛЕНИЯ И ОСНОВНАЯ РАМА
FIT
1:1
100%

Артикул

Название

Примечание

Количество

1

203-43-51431

LEVER

2

203-43-41340

KNOB

3

203-43-56490

SCREW

4

201-43-61141

LEVER,L.H.

5

201-43-61151

LEVER,R.H.

6

195-61-34130

BEARING,NEEDLE

7

203-43-51590

COVER

8

203-43-51620

SPRING

9

203-43-51610

COVER

10

01010-50820

BOLT

11

01643-30823

WASHER

12

01010-51025

BOLT

13

01643-31032

WASHER

14

201-43-61131

BRACKET

15

01010-51025

BOLT

16

01643-31032

WASHER

17

205-43-73280

SHAFT

18

07372-51032

BOLT

19

01580-11008

NUT

20

01010-50616

BOLT

21

01643-30623

WASHER

22

203-43-51451

REST,FOOT

22

203-43-51451

REST,FOOT (FOR ATTACHMENT)

23

203-43-56450

CAP, PEDAL

23

203-43-56450

CAP, PEDAL

24

01010-51025

BOLT

25

01643-31032

WASHER

Выбрано товаров: 27