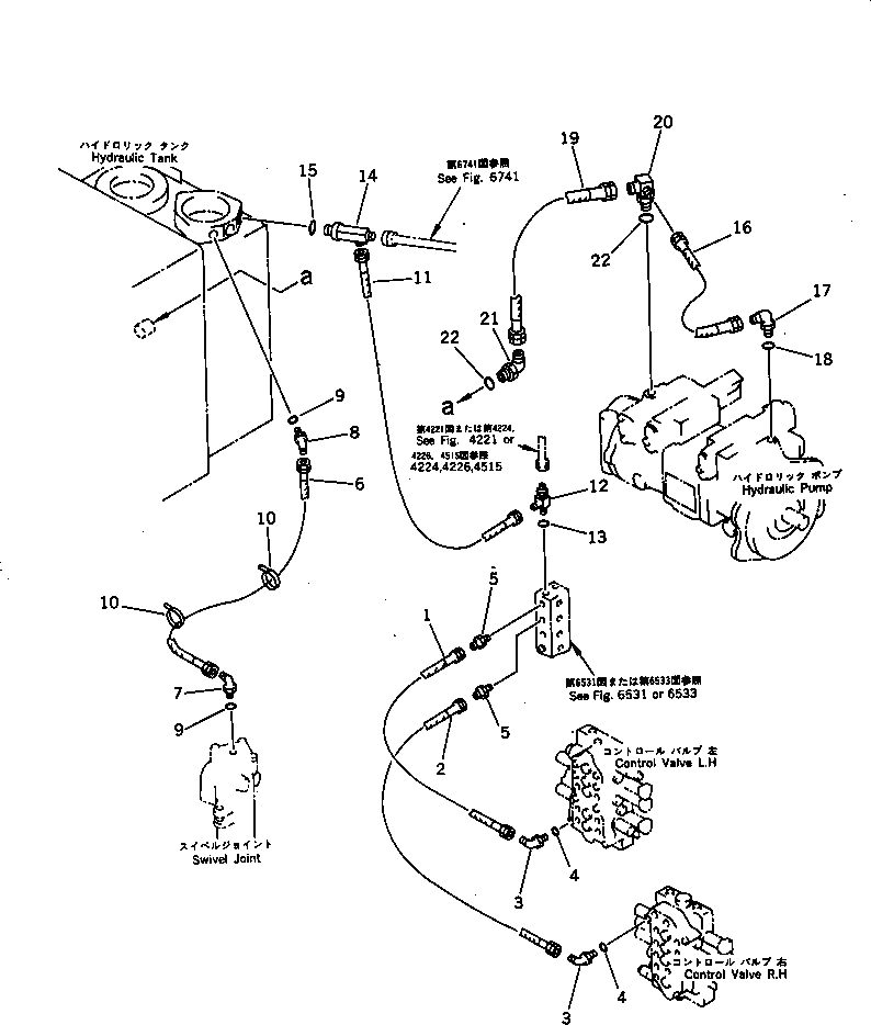
Запчасти Komatsu PC60-6S ГИДРОЛИНИЯ (ВОЗВРАТН. ЛИНИЯ) (С ОТВАЛ) УПРАВЛ-Е РАБОЧИМ ОБОРУДОВАНИЕМ

Схема запчастей Komatsu PC60-6S - ГИДРОЛИНИЯ (ВОЗВРАТН. ЛИНИЯ) (С ОТВАЛ) УПРАВЛ-Е РАБОЧИМ ОБОРУДОВАНИЕМ
FIT
1:1
100%

Артикул

Название

Примечание

Количество

1

208-62-18480

HOSE

2

205-62-74610

HOSE

3

07235-10210

ELBOW

4

07002-01423

O-RING

5

208-06-11220

NIPPLE

6

07102-20311

HOSE

7

07235-10315

ELBOW

8

07236-10315

ELBOW

9

07002-02034

O-RING

10

08034-00823

BAND

11

07102-20304

HOSE

12

201-62-65280

TEE

13

07002-01423

O-RING

14

201-910-6360

TEE

15

07002-12034

O-RING

16

07102-20403

HOSE

17

07235-10422

ELBOW

18

07002-02034

O-RING

19

07102-20604

HOSE

20

201-62-65510

ELBOW

21

07235-10628

ELBOW

22

07002-02434

O-RING

Выбрано товаров: 22