Запчасти Komatsu PC60-6S ПОДДЕРЖИВАЮЩИЙ КАТОК (ДЛЯ РЕЗИН. SHOE СПЕЦ-Я.) (ДЛЯ УДЛИНН. РЫЧАГ УПРАВЛ-Е) ХОДОВАЯ

Схема запчастей Komatsu PC60-6S - ПОДДЕРЖИВАЮЩИЙ КАТОК (ДЛЯ РЕЗИН. SHOE СПЕЦ-Я.) (ДЛЯ УДЛИНН. РЫЧАГ УПРАВЛ-Е) ХОДОВАЯ
FIT
1:1
100%

Артикул

Название

Примечание

Количество

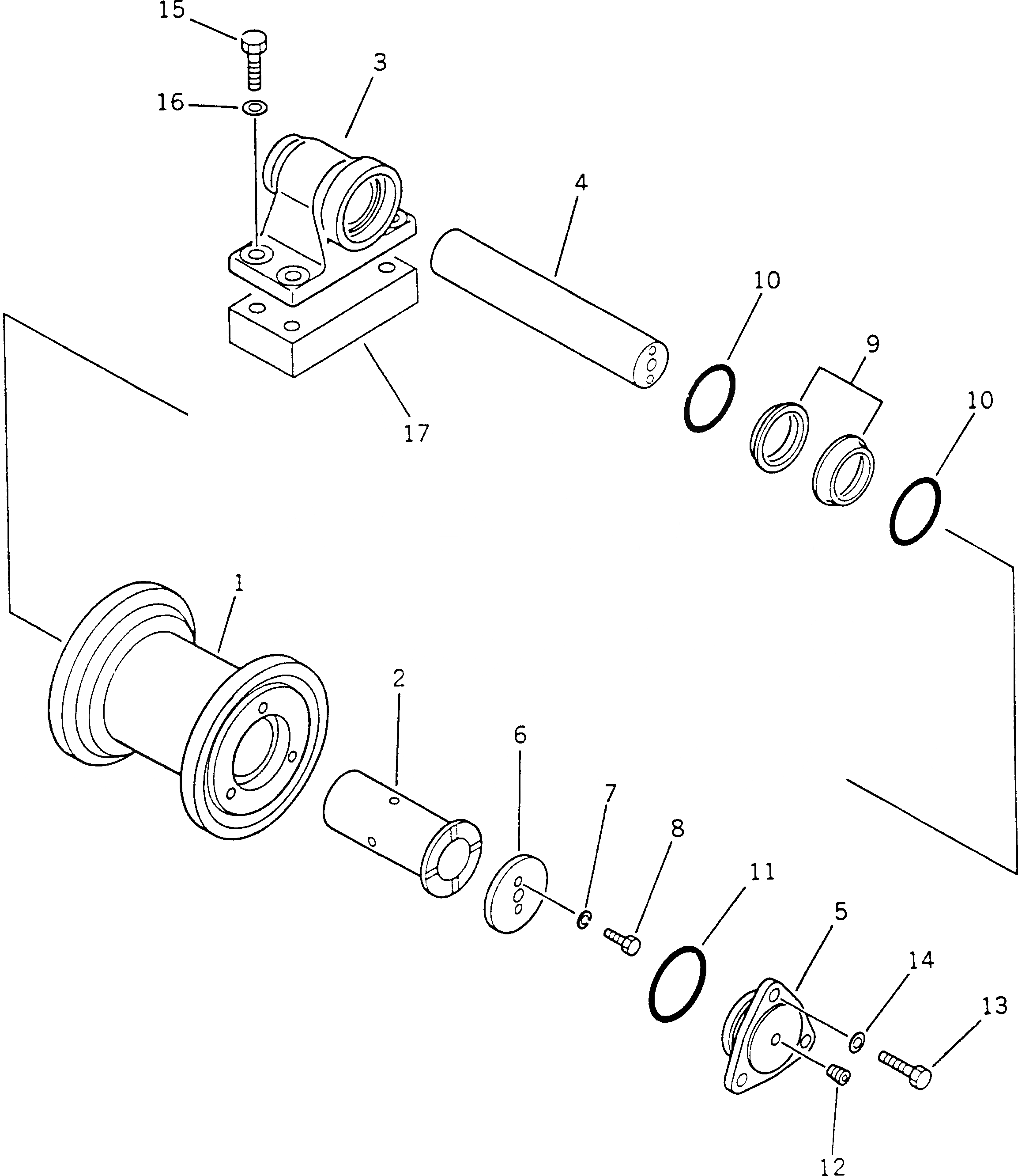
|1

201-30-00070

CARRIER ROLLER ASS'Y

1

21W-30-13510

ROLLER

2

21W-30-13520

BUSHING

3

201-30-65140

COLLAR

4

21W-30-13530

SHAFT

5

203-30-43150

COVER

6

203-30-43170

PLATE

7

01602-20825

WASHER,SPRING

8

01010-50820

BOLT

|9

110-30-00045

FLOATING SEAL ASS'Y

9

RING,SEAL

10

O-RING

11

07000-02060

O-RING

12

07043-50108

PLUG

13

01010-51025

BOLT

14

01643-31032

WASHER

15

01010-51265

BOLT

16

01643-31232

WASHER

17

201-30-65160

PLATE

Выбрано товаров: 19