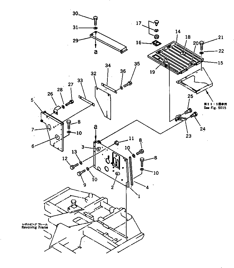
Запчасти Komatsu PC60-6S ЗАДН. БОКОВ. КРЫШКА(№-) ЧАСТИ КОРПУСА

Схема запчастей Komatsu PC60-6S - ЗАДН. БОКОВ. КРЫШКА(№-) ЧАСТИ КОРПУСА
FIT
1:1
100%

Артикул

Название

Примечание

Количество

1

201-54-62462

COVER ASS'Y

2

201-54-62311

SHEET

3

201-54-62320

SHEET

4

201-54-64410

SEAL

5

201-54-62471

COVER ASS'Y

6

201-54-62330

SHEET

7

201-54-61720

SHEET

8

01010-51025

BOLT

9

01010-51020

BOLT

10

01643-31032

WASHER

11

201-54-61790

BRACKET

12

01010-51020

BOLT

13

01643-31032

WASHER

14

201-54-62910

COVER ASS'Y

15

203-54-52241

HINGE (WELDED)

16

421-54-11372

LOCK ASS'Y (WELDED)

17

421-54-11381

LOCK

18

201-54-62940

SHEET

19

201-54-62950

SHEET

20

201-54-62930

SHEET

21

01010-51025

BOLT

22

01643-31032

WASHER

23

203-54-56910

STAY

24

20R-54-21440

BOLT

25

20R-54-21450

BOLT

26

201-54-61470

BRACKET

27

01010-51020

BOLT

28

01643-31032

WASHER

29

201-54-61480

COVER

30

01010-51025

BOLT

31

01643-31032

WASHER

32

201-54-63460

SHEET

33

201-54-62510

PLATE

34

201-54-62520

PLATE

35

01010-51025

BOLT

36

01643-31032

WASHER

Выбрано товаров: 36