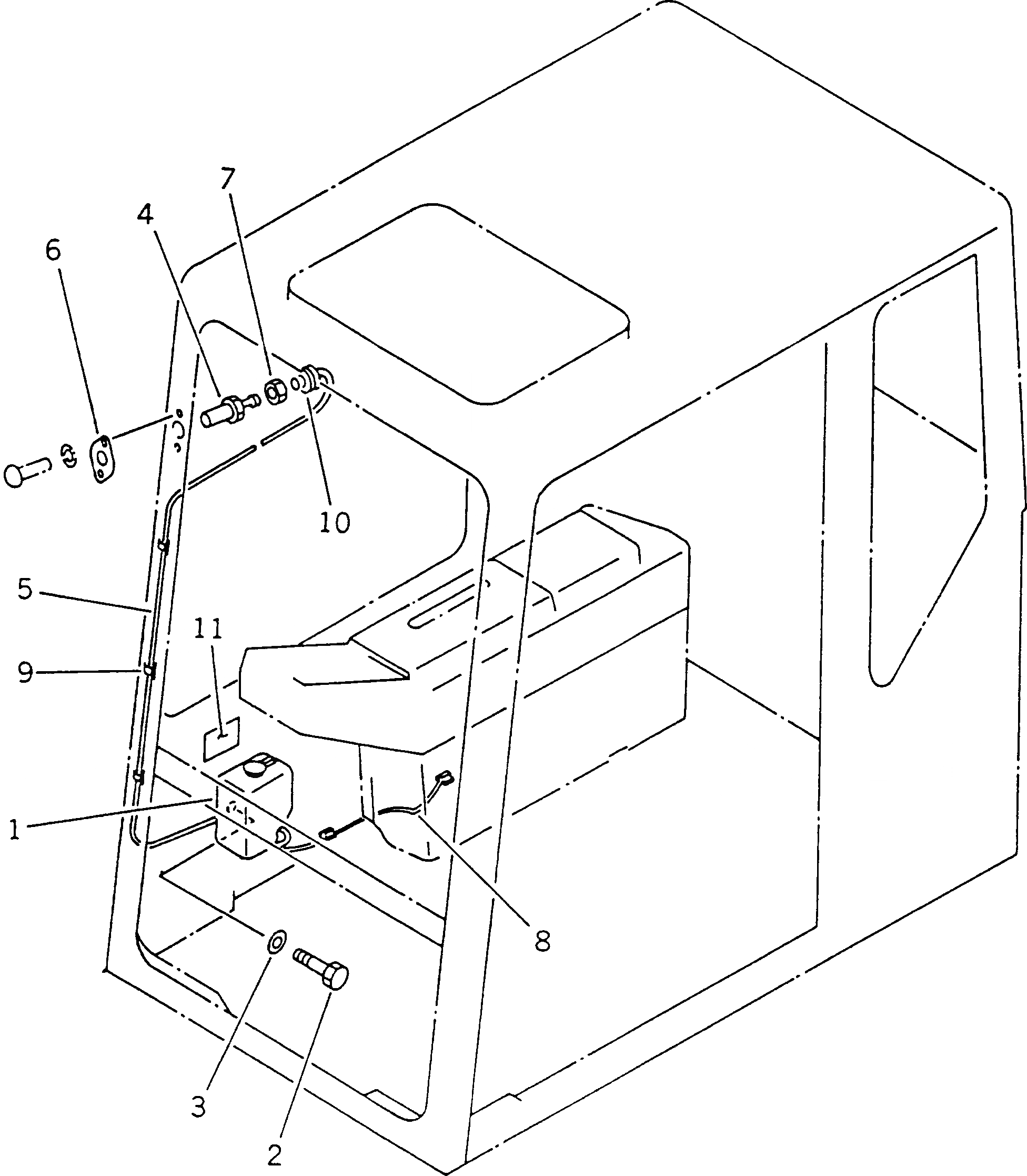
Запчасти Komatsu PC60-6S ОМЫВАТЕЛЬ СТЕКЛА (ДЛЯ УДЛИНН. РЫЧАГ УПРАВЛ-Е) ЧАСТИ КОРПУСА

Схема запчастей Komatsu PC60-6S - ОМЫВАТЕЛЬ СТЕКЛА (ДЛЯ УДЛИНН. РЫЧАГ УПРАВЛ-Е) ЧАСТИ КОРПУСА
FIT
1:1
100%

Артикул

Название

Примечание

Количество

1

206-06-15230

TANK

2

01010-50612

BOLT

3

01643-30623

WASHER

4

205-06-61220

NOZZLE ASS'Y

5

205-06-71470

HOSE

6

205-06-71590

BRACKET

7

205-06-71610

NUT

8

201-06-62410

WIRE ASS'Y

9

08051-00801

CLIP

10

201-54-22890

GROMMET

11

09699-00100

PLATE¤ CAUTION,(JAPANESE)

|11

09699-03000

PLATE¤ CAUTION,(ENGLISH)

Выбрано товаров: 0