Запчасти Komatsu PC60-6Z ГИДРАВЛ УПРАВЛЯЮЩ. КЛАПАН¤ ПРАВ. (/) (EXCEPT СПЕЦИФ-Я С ОТВАЛОМ) УПРАВЛ-Е РАБОЧИМ ОБОРУДОВАНИЕМ

Схема запчастей Komatsu PC60-6Z - ГИДРАВЛ УПРАВЛЯЮЩ. КЛАПАН¤ ПРАВ. (/) (EXCEPT СПЕЦИФ-Я С ОТВАЛОМ) УПРАВЛ-Е РАБОЧИМ ОБОРУДОВАНИЕМ
FIT
1:1
100%

Артикул

Название

Примечание

Количество

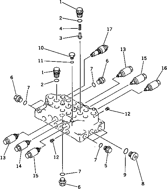
|1

709-25-13104

VALVE ASS'Y

|1

709-25-13103

VALVE ASS'Y

|1

709-25-13102

VALVE ASS'Y

|1

709-25-13101

VALVE ASS'Y

1

709-25-11640

PLUG

2

07000-12020

O-RING

3

709-25-11650

VALVE

4

709-25-11361

SPRING

5

708-7B-16570

PLUG

|5

07040-12012

PLUG

|5

706-77-72280

PLUG

6

708-7B-16570

PLUG

|6

706-77-72280

PLUG

7

07002-12034

O-RING

8

07040-13016

PLUG

9

07002-03034

O-RING

10

07040-11409

PLUG

11

07002-01423

O-RING

12

07043-70108

PLUG

13

709-20-61800

VALVE ASS'Y,SUCTION AND SAFETY

14

709-20-61900

VALVE ASS'Y,SUCTION AND SAFETY

15

709-20-61700

VALVE ASS'Y,SUCTION AND SAFETY

16

709-20-61301

VALVE ASS'Y,SUCTION AND SAFETY

17

709-20-51800

RELIEF VALVE ASS'Y

Выбрано товаров: 24