Запчасти Komatsu PC60-6Z НАВЕСН. ОБОРУД КЛАПАН (АККУМУЛЯТОР ЛИНИЯ)(№-) РАБОЧЕЕ ОБОРУДОВАНИЕ

Схема запчастей Komatsu PC60-6Z - НАВЕСН. ОБОРУД КЛАПАН (АККУМУЛЯТОР ЛИНИЯ)(№-) РАБОЧЕЕ ОБОРУДОВАНИЕ
FIT
1:1
100%

Артикул

Название

Примечание

Количество

|1

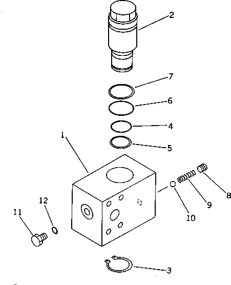
201-973-6900

VALVE ASS'Y

1

201-973-6910

BODY

2

203-973-3921

SPOOL

3

04064-03015

RING,SNAP

4

07000-13025

O-RING

5

07001-03025

RING

6

07000-13032

O-RING

7

07001-03032

RING

8

07043-00108

PLUG

9

236-10-12240

SPRING

10

04260-00793

BALL

11

07040-11007

PLUG

12

07002-11023

O-RING

Выбрано товаров: 13