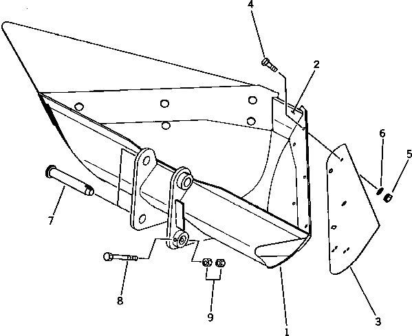
Запчасти Komatsu PC60-6Z КОВШ¤ TRAPEZOIDAL РАБОЧЕЕ ОБОРУДОВАНИЕ

Схема запчастей Komatsu PC60-6Z - КОВШ¤ TRAPEZOIDAL РАБОЧЕЕ ОБОРУДОВАНИЕ
FIT
1:1
100%

Артикул

Название

Примечание

Количество

|1

201-929-0022

BUCKET ASS'Y

|1

201-929-0021

BUCKET ASS'Y

1

201-929-2112

BUCKET,TRAPEZOIDAL

|1

201-929-2111

BUCKET,TRAPEZOIDAL

2

201-929-2120

LIP (WELDED)

3

201-929-2130

PLATE

4

01010-51650

BOLT

5

01580-11613

NUT

6

01643-31645

WASHER

7

201-70-64310

PIN

8

01011-51630

BOLT

9

01580-11613

NUT

Выбрано товаров: 12