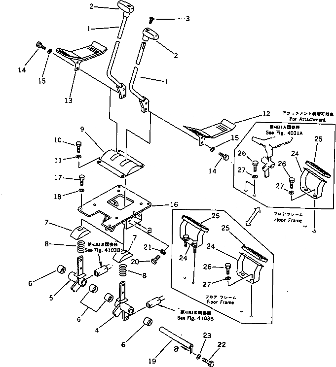
Запчасти Komatsu PC60-6Z РЫЧАГ УПРАВЛ-Я ХОДОМ И ПЕДАЛЬ (ДЛЯ УДЛИНН. РЫЧАГ УПРАВЛ-Е)(№-) СИСТЕМА УПРАВЛЕНИЯ И ОСНОВНАЯ РАМА

Схема запчастей Komatsu PC60-6Z - РЫЧАГ УПРАВЛ-Я ХОДОМ И ПЕДАЛЬ (ДЛЯ УДЛИНН. РЫЧАГ УПРАВЛ-Е)(№-) СИСТЕМА УПРАВЛЕНИЯ И ОСНОВНАЯ РАМА
FIT
1:1
100%

Артикул

Название

Примечание

Количество

1

203-43-51431

LEVER

2

203-43-41340

KNOB

3

203-43-56490

SCREW

4

201-43-61141

LEVER,L.H.

|4

201-43-61140

LEVER,L.H.

5

201-43-61151

LEVER,R.H.

|5

201-43-61150

LEVER,R.H.

6

195-61-34130

BEARING,NEEDLE

7

203-43-51590

COVER

8

203-43-51620

SPRING

9

203-43-51610

COVER

10

01010-50820

BOLT

11

01643-30823

WASHER

12

203-43-56431

PEDAL,L.H.

13

203-43-56441

PEDAL,R.H.

14

01010-51045

BOLT

|14

01010-51025

BOLT,(CUSTOM)

15

01643-31032

WASHER

16

201-43-61131

BRACKET

|16

201-43-61130

BRACKET

17

01010-51025

BOLT

18

01643-31032

WASHER

19

205-43-73280

SHAFT

20

07372-51032

BOLT

|20

01016-51030

BOLT

21

01580-11008

NUT

22

01010-50616

BOLT

23

01643-30623

WASHER

24

203-43-51451

REST,FOOT

|24

203-43-51451

REST,FOOT (FOR ATTACHMENT)

25

203-43-56450

CAP¤ PEDAL

|25

203-43-56450

CAP¤ PEDAL

26

01010-51025

BOLT

27

01643-31032

WASHER

Выбрано товаров: 34