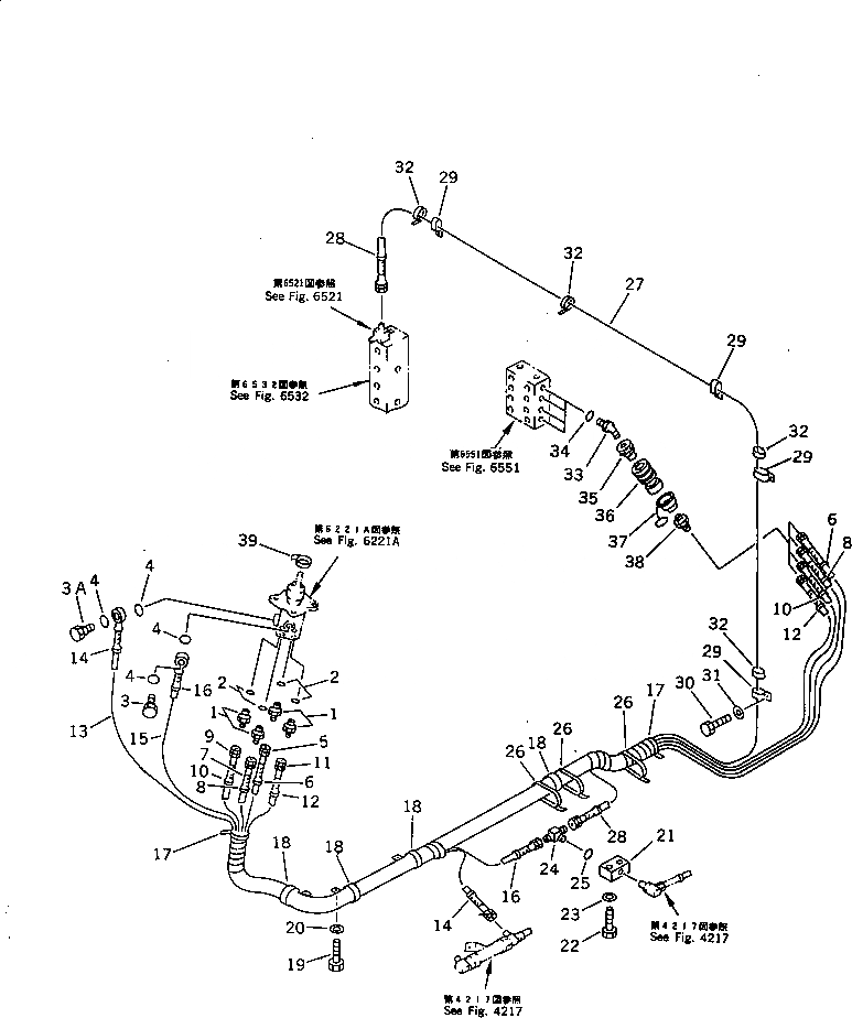
Запчасти Komatsu PC60-6Z ГИДРОЛИНИЯ (БЫСТРОСЪЕМН. МЕХ-М PATTERN ЛИНИЯ) (ПРАВ.)(№-) СИСТЕМА УПРАВЛЕНИЯ И ОСНОВНАЯ РАМА

Схема запчастей Komatsu PC60-6Z - ГИДРОЛИНИЯ (БЫСТРОСЪЕМН. МЕХ-М PATTERN ЛИНИЯ) (ПРАВ.)(№-) СИСТЕМА УПРАВЛЕНИЯ И ОСНОВНАЯ РАМА
FIT
1:1
100%

Артикул

Название

Примечание

Количество

1

07230-20210

UNION

2

07002-01423

O-RING

3

203-62-57730

BOLT,JOINT

3A

702-16-53240

PLUG

4

07000-02018

O-RING

5

07102-20228

HOSE

6

203-62-57910

MARK¤ 1

7

07102-20228

HOSE

8

203-62-57920

MARK¤ 2

9

07102-20228

HOSE

10

203-62-57930

MARK¤ 3

11

07102-20227

HOSE

12

203-62-57940

MARK¤ 4

13

201-62-64450

HOSE

14

203-62-58160

MARK¤ P1

15

201-62-64450

HOSE

16

203-62-58210

MARK¤ T1

17

08034-00823

BAND

18

21T-06-11950

CLIP

19

01010-51220

BOLT

20

01643-31232

WASHER

21

201-62-64150

BLOCK

22

01010-51040

BOLT

23

01643-31032

WASHER

24

208-26-11611

TEE

25

07002-01423

O-RING

26

08034-00834

BAND

27

07102-20228

HOSE

28

203-62-58210

MARK¤ T1

29

208-06-12140

CLIP

30

01010-51020

BOLT

31

01643-31032

WASHER

32

08034-00823

BAND

33

201-62-64240

ELBOW

34

07002-01423

O-RING

35

202-62-51350

COUPLER

36

202-62-51340

COUPLER

37

202-62-51750

PLUG

38

07238-10210

CONNECTOR

39

08034-00823

BAND

Выбрано товаров: 40