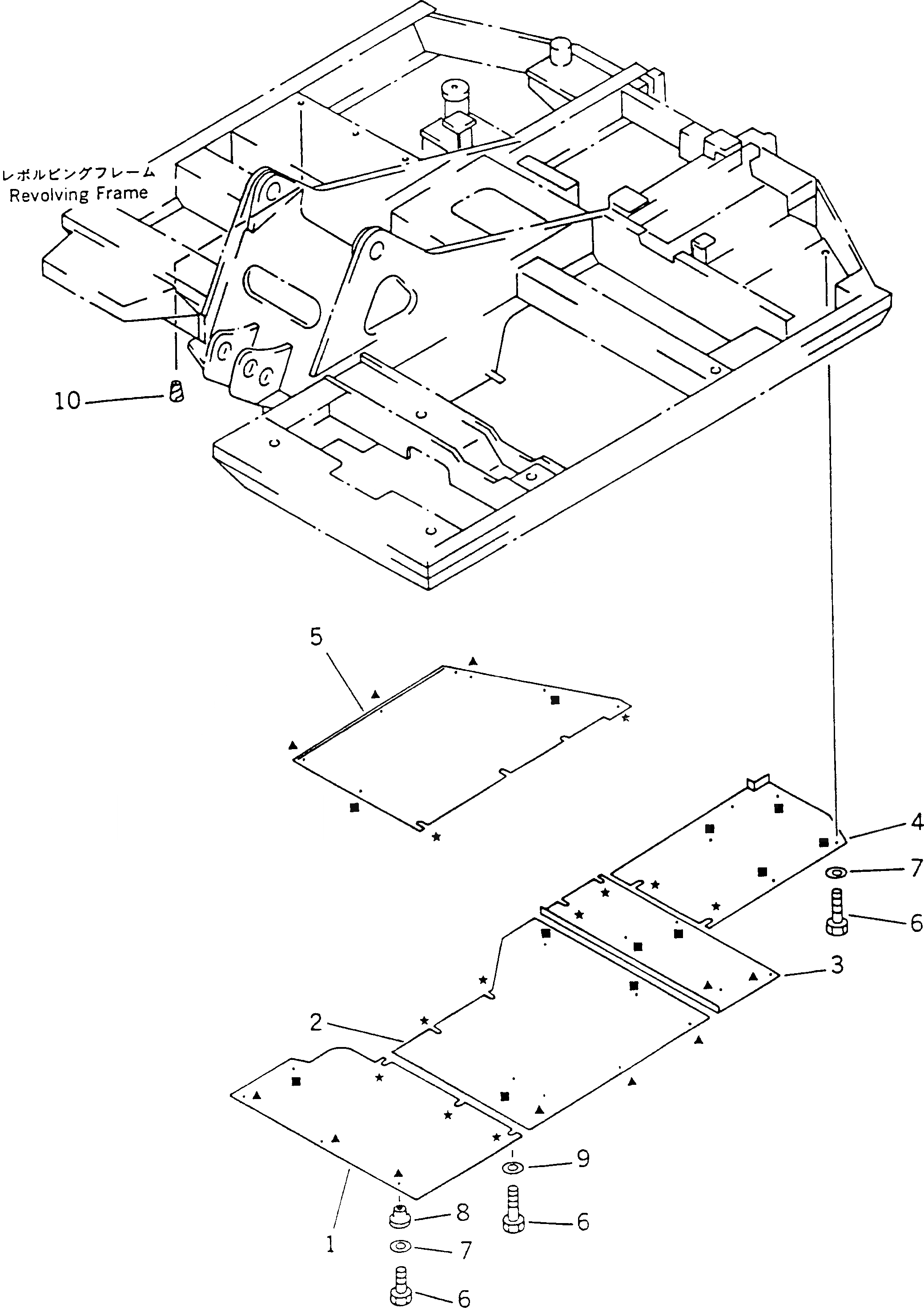
Запчасти Komatsu PC60-6Z НИЖН. КРЫШКА(№-) ЧАСТИ КОРПУСА

Схема запчастей Komatsu PC60-6Z - НИЖН. КРЫШКА(№-) ЧАСТИ КОРПУСА
FIT
1:1
100%

Артикул

Название

Примечание

Количество

1

201-54-61650

COVER

2

201-54-61661

COVER

3

201-54-61670

COVER

4

201-54-61681

COVER

5

201-54-61383

COVER

6

01010-51025

BOLT

7

01643-31032

WASHER

8

203-54-56960

COLLAR

9

203-54-56970

WASHER

10

07049-01012

PLUG

Выбрано товаров: 10