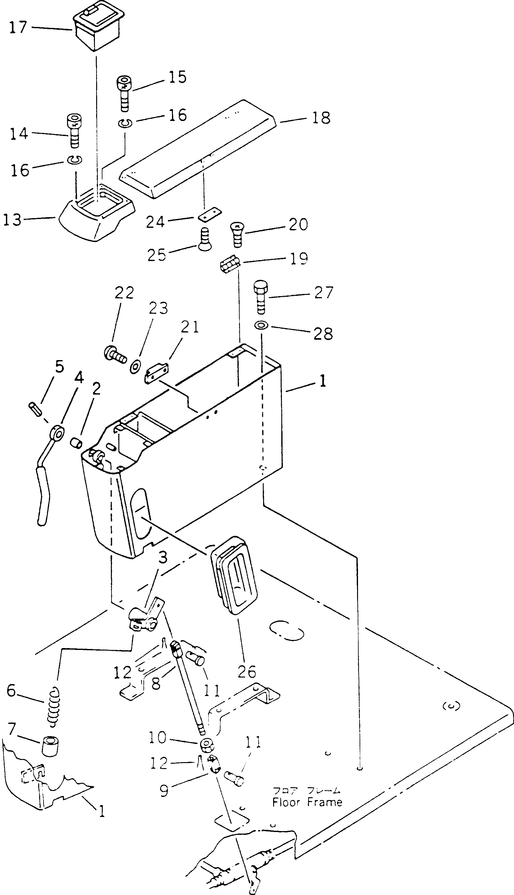
Запчасти Komatsu PC60-6Z MAGAZINE КОРПУС И РЫЧАГ БЛОКИРОВКИ РАБОЧ. ОБОРУД. (EXCEPT СПЕЦИФ-Я С ОТВАЛОМ) (ДЛЯ УДЛИНН. РЫЧАГ УПРАВЛ-Е) ЧАСТИ КОРПУСА

Схема запчастей Komatsu PC60-6Z - MAGAZINE КОРПУС И РЫЧАГ БЛОКИРОВКИ РАБОЧ. ОБОРУД. (EXCEPT СПЕЦИФ-Я С ОТВАЛОМ) (ДЛЯ УДЛИНН. РЫЧАГ УПРАВЛ-Е) ЧАСТИ КОРПУСА
FIT
1:1
100%

Артикул

Название

Примечание

Количество

1

203-54-56123

COVER

|1

203-54-56122

COVER

2

09350-01620

BUSHING

3

203-43-56323

LEVER

|3

203-43-56322

LEVER

4

203-54-51452

LEVER

|4

203-54-51451

LEVER

5

04025-00432

PIN,SPRING

6

562-17-11571

SPRING

|6

203-43-21370

SPRING

7

203-43-56670

TUBE

8

04244-50633

ROD

|8

04244-50631

ROD

9

04211-20634

YOKE

10

01580-30605

NUT

11

04205-10618

PIN

12

04050-11612

PIN,COTTER

13

203-54-51341

COVER

|13

203-54-51340

COVER

14

203-54-56260

BOLT

15

203-54-56250

BOLT

16

01601-20513

WASHER,SPRING

17

20G-54-13420

ASHTRAY

18

203-54-51350

COVER

19

203-54-51380

HINGE

20

01224-40306

SCREW

21

203-54-56830

CATCHER

22

01220-40308

SCREW

23

01641-20305

WASHER

24

203-54-51550

PLATE

25

01224-40306

SCREW

26

205-43-72480

COVER

27

01010-51025

BOLT

28

01643-31032

WASHER

Выбрано товаров: 34