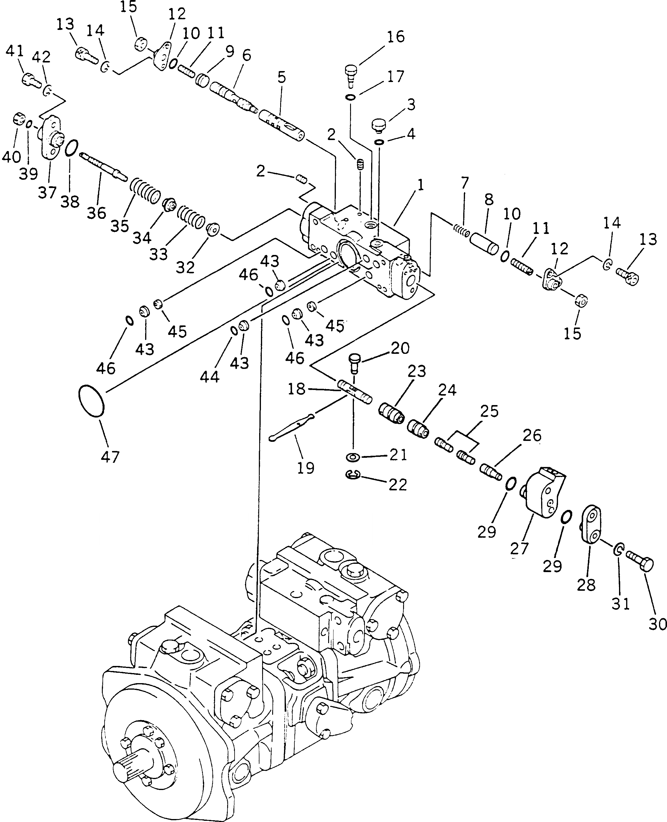
Запчасти Komatsu PC60-6Z ГИДР. НАСОС. (СЕРВОКЛАПАН ПЕРЕДН.) (EXCEPT СПЕЦИФ-Я С ОТВАЛОМ) УПРАВЛ-Е РАБОЧИМ ОБОРУДОВАНИЕМ

Схема запчастей Komatsu PC60-6Z - ГИДР. НАСОС. (СЕРВОКЛАПАН ПЕРЕДН.) (EXCEPT СПЕЦИФ-Я С ОТВАЛОМ) УПРАВЛ-Е РАБОЧИМ ОБОРУДОВАНИЕМ
FIT
1:1
100%

Артикул

Название

Примечание

Количество

|1

708-21-04033

PUMP ASS'Y,(HPV35+35)

|1

708-21-04032

PUMP ASS'Y,(HPV35+35)

|1

708-21-04031

PUMP ASS'Y,(HPV35+35)

|1

708-21-08112

SERVO VALVE ASS'Y,FRONT

|1

708-21-08111

SERVO VALVE ASS'Y,FRONT

|1

708-23-07072

BODY ASS'Y

|1

708-23-07071

BODY ASS'Y

1

BODY

|1

708-23-15811

BODY

2

PLUG

3

07040-10807

PLUG

4

07002-10823

O-RING

5

708-25-15180

SLEEVE

6

708-25-15280

SPOOL

7

708-25-15310

SPRING

8

708-25-15330

SPACER

9

708-25-15430

PLUG

10

07000-02012

O-RING

11

708-25-15340

SCREW

12

708-25-15250

COVER

13

708-25-15320

BOLT

14

01602-00619

WASHER,SPRING

15

01580-00806

NUT

16

708-25-15260

PLUG

17

07002-00823

O-RING

18

708-23-15820

PISTON

19

708-23-15910

ARM

20

708-25-15360

PIN

21

708-25-15370

WASHER

22

708-25-15380

E-RING

23

708-23-15921

SLEEVE

24

708-23-15941

SLEEVE

25

708-23-15930

PISTON

26

708-21-19411

PISTON

27

708-21-19330

SLEEVE

28

708-21-19240

COVER

29

07000-02014

O-RING

30

01010-30860

BOLT

31

01602-00825

WASHER,SPRING

32

708-23-15830

SEAT

33

708-21-19310

SPRING

34

708-23-15850

SEAT

35

708-21-19320

SPRING

36

708-23-15870

ROD

37

708-21-19230

COVER

38

07000-02020

O-RING

39

07002-00823

O-RING

40

708-23-15890

NUT

41

01010-30820

BOLT

42

01602-00825

WASHER,SPRING

43

720-68-11920

FILTER

44

07000-12010

O-RING

45

708-21-19150

ORIFICE

46

07000-02010

O-RING

47

07000-03048

O-RING

Выбрано товаров: 55