Запчасти Komatsu PC60-7-B ОСНОВН. КОНСТРУКЦИЯ (ОСНОВ.)(№7-) КАБИНА ОПЕРАТОРА И СИСТЕМА УПРАВЛЕНИЯ

Схема запчастей Komatsu PC60-7-B - ОСНОВН. КОНСТРУКЦИЯ (ОСНОВ.)(№7-) КАБИНА ОПЕРАТОРА И СИСТЕМА УПРАВЛЕНИЯ
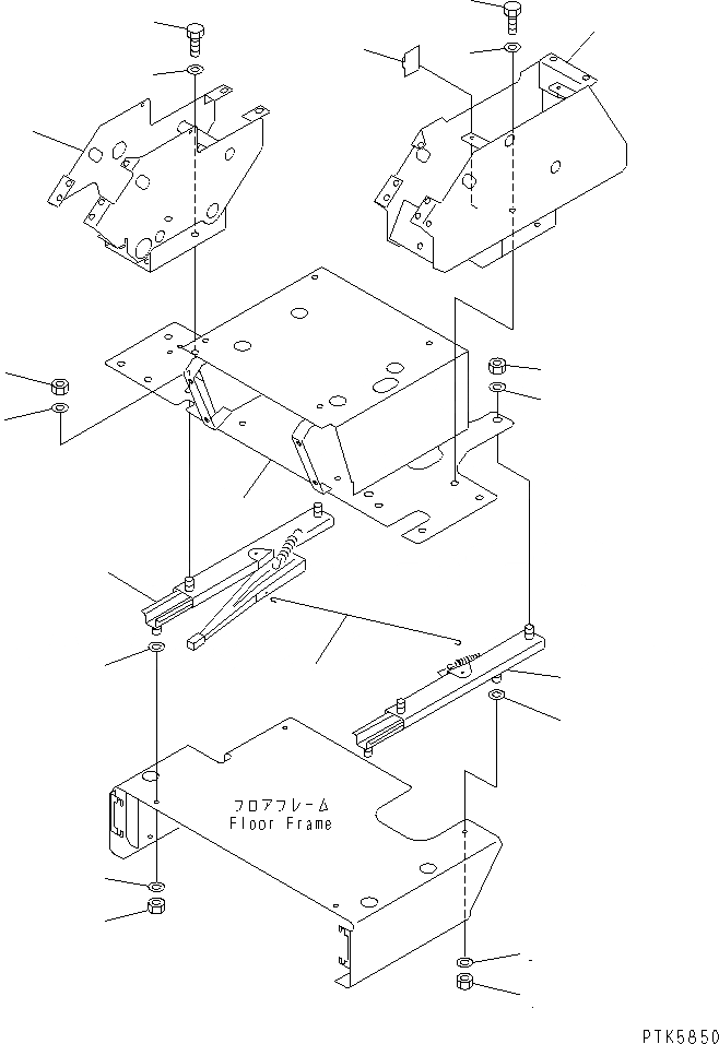
1
2
3
4
4
4
4
5
5
5
5
5
5
6
7
8
9
10
11
12
13
FIT
1:1
100%

Артикул

Название

Примечание

Количество

1

201-54-75133

BRACKET

|1

201-54-75132

BRACKET

|1

201-54-75131

BRACKET

2

205-57-63520

ADJUSTER,L.H.

3

205-57-63530

ADJUSTER,R.H.

4

01580-11210

NUT

5

01643-31232

WASHER

6

201-54-73231

BAR

7

201-54-75121

BRACKET,R.H.

|7

201-54-75120

BRACKET,R.H.

8

01010-81025

BOLT

9

01643-31032

WASHER

10

20Y-43-23362

BRACKET,L.H.

|10

201-54-73562

BRACKET,L.H.

|10

201-54-73561

BRACKET,L.H.

|10

201-54-73560

BRACKET,L.H.

|10

20Y-43-23361

BRACKET,L.H.

11

08051-00801

CLIP

12

01010-81025

BOLT

13

01643-31032

WASHER

Выбрано товаров: 0