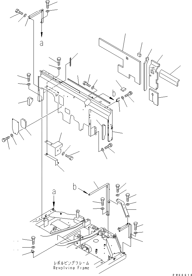
Запчасти Komatsu PC60-7 ПЕРЕГОРОДКА. (РАМА) (С ВОДООТДЕЛИТЕЛЕМ И ДОПОЛН. ТОПЛИВН. ФИЛЬТР.)(№8-) ЧАСТИ КОРПУСА

Схема запчастей Komatsu PC60-7 - ПЕРЕГОРОДКА. (РАМА) (С ВОДООТДЕЛИТЕЛЕМ И ДОПОЛН. ТОПЛИВН. ФИЛЬТР.)(№8-) ЧАСТИ КОРПУСА
1
2
3
4
5
6
7
8
9
10
11
12
12
12
13
13
13
14
15
16
17
18
19
20
21
22
23
24
24
25
25
26
27
27
28
28
29
30
30
31
31
32
33
34
34
35
35
36
37
38
FIT
1:1
100%

Артикул

Название

Примечание

Количество

|1

201-54-75203

FRAME ASS'Y

|1

201-54-75202

FRAME ASS'Y

1

201-54-75331

SHEET

2

201-54-75322

SHEET

3

201-54-75341

SHEET

4

201-54-72250

SHEET

5

201-54-75350

SHEET

6

201-54-75760

SHEET

7

201-54-75770

SHEET

8

201-979-8271

SEAL

9

201-54-72360

SHEET

10

201-54-75213

FRAME

|10

201-54-75212

FRAME

11

201-54-76120

SEAL

12

01010-81025

BOLT

13

01643-31032

WASHER

|14

201-54-75850

COVER ASS'Y

14

201-54-75780

SHEET

15

201-54-75271

COVER

16

201-54-73970

SHEET

17

20Y-54-12320

CATCH

18

01010-81020

BOLT

19

01643-31032

WASHER

20

201-54-75220

FRAME

21

01010-81025

BOLT

22

01643-31032

WASHER

23

201-54-75231

FRAME

24

01010-81025

BOLT

25

01643-31032

WASHER

26

201-54-71842

FRAME

27

01010-81025

BOLT

28

01643-31032

WASHER

29

201-54-75240

FRAME

30

01010-81025

BOLT

31

01643-31032

WASHER

32

203-54-63230

CLAMP

33

01010-80612

BOLT

34

01643-30623

WASHER

35

201-54-75361

PLATE

36

201-54-75371

SHEET

37

01010-81025

BOLT

38

01643-31032

WASHER

Выбрано товаров: 42