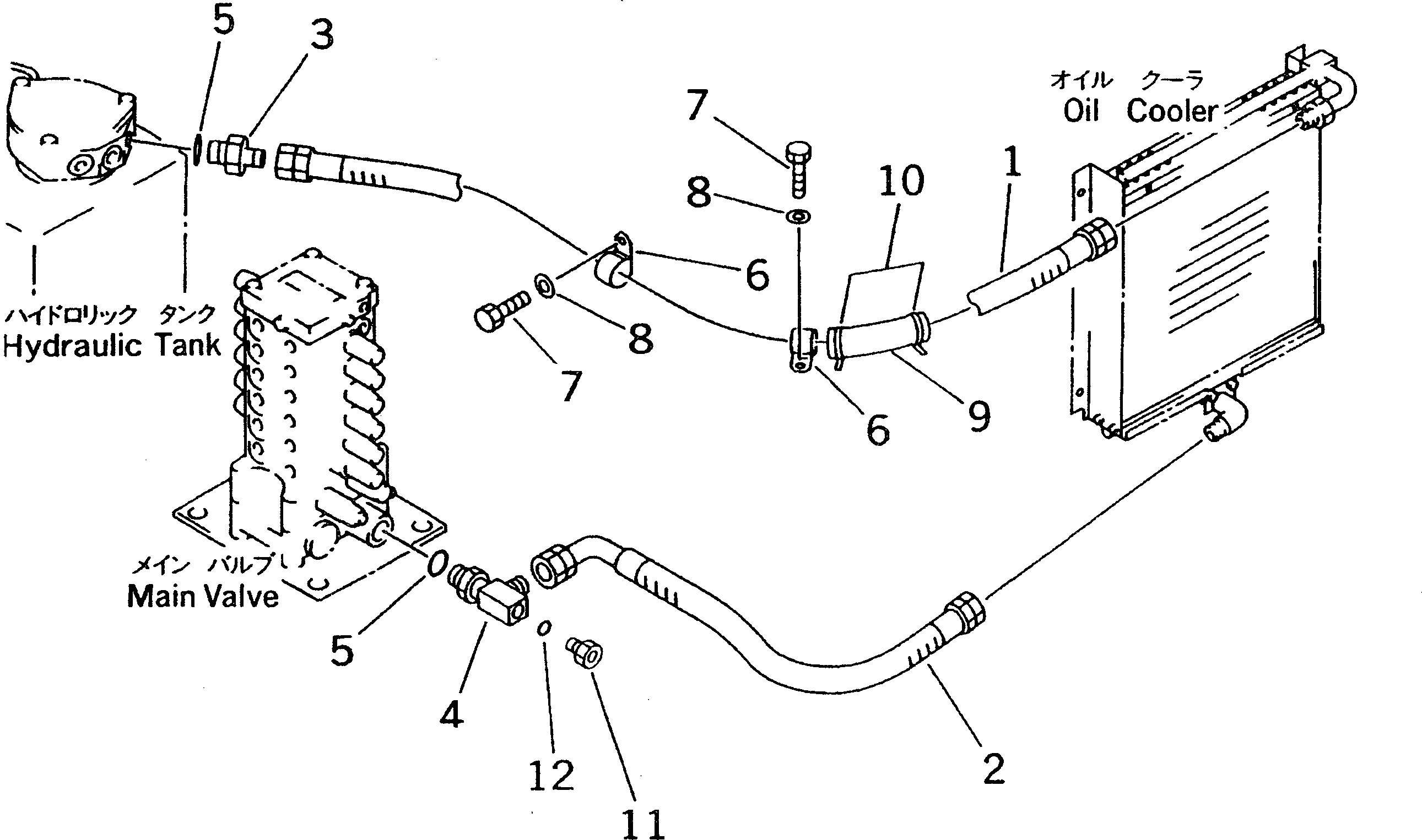
/ / / / / / ЛИНИЯ МАСЛООХЛАДИТЕЛЯ(-ACTUATER НАВЕСН. ОБОРУД И ЗАГЛУШКА)(№-7)
Запчасти Komatsu PC60-7 ЛИНИЯ МАСЛООХЛАДИТЕЛЯ(-ACTUATER НАВЕСН. ОБОРУД И ЗАГЛУШКА)(№-7) ГИДРАВЛИКА
1
201-62-72111
HOSE
2
201-62-72120
HOSE
3
07230-21034
UNION
4
201-62-75211
ELBOW
5
07002-03334
O-RING
6
23S-61-24870
CLIP
7
01010-51025
BOLT
8
01643-31032
WASHER
9
203-62-52210
RUBBER
10
08034-00519
BAND
11
07040-12412
PLUG
12
07002-02434
O-RING
Выбрано товаров: 0