Запчасти Komatsu PC60-7 ОПОРНЫЙ ЭЛЕМЕНТ ЛЕНИВЦА(№-7) ХОДОВАЯ

Схема запчастей Komatsu PC60-7 - ОПОРНЫЙ ЭЛЕМЕНТ ЛЕНИВЦА(№-7) ХОДОВАЯ
FIT
1:1
100%

Артикул

Название

Примечание

Количество

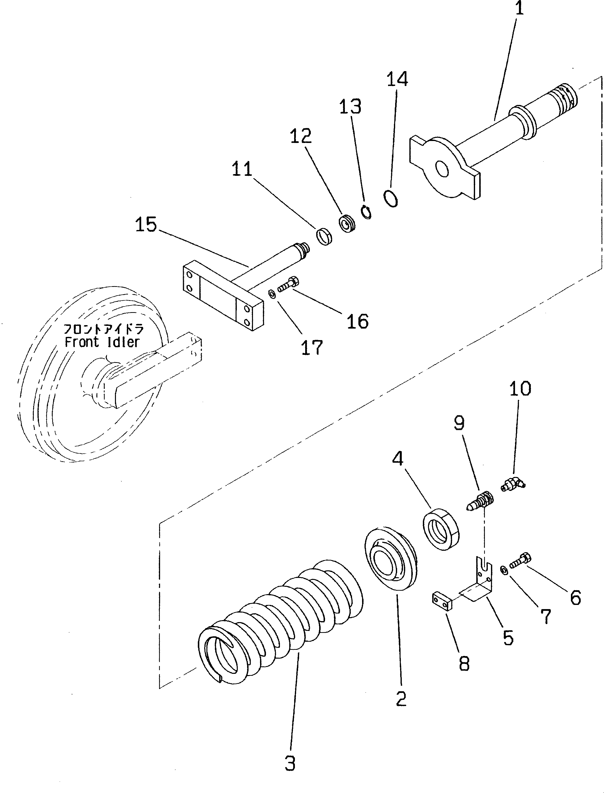
1

201-30-72321

CYLINDER

1

201-30-72320

CYLINDER

2

20X-30-22230

PILOT

3

201-30-62310

SPRING,RECOIL

4

21W-30-12630

NUT

4

20X-30-22220

NUT

5

21W-30-12640

LOCK

5

201-30-52270

LOCK

6

01010-50830

BOLT

7

01643-30823

WASHER

8

201-30-52280

SEAT

9

203-30-42260

VALVE

10

07020-00900

FITTING,GREASE

11

07155-00410

RING,WEAR

12

09370-00040

U-PACKING

13

04064-02512

RING,SNAP

14

07000-03040

O-RING

15

201-30-72311

YOKE

15

201-30-72310

YOKE

16

01010-51470

BOLT

16

01010-51465

BOLT

17

01643-31445

WASHER

Выбрано товаров: 22