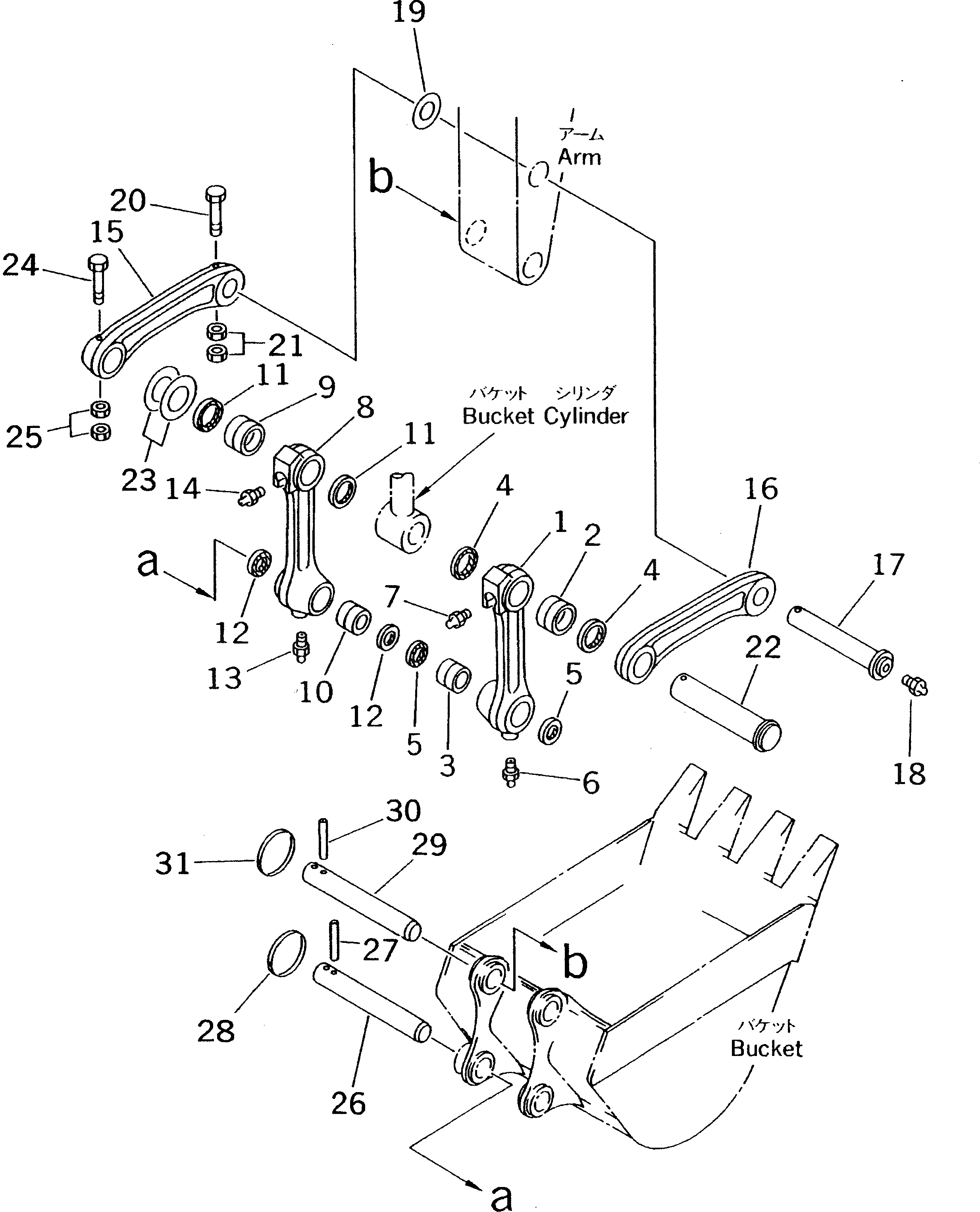
Запчасти Komatsu PC60-7E-B СОЕДИНЕНИЕ КОВША (ДЛЯ ТЕЛЕСКОПИЧЕСК. РУКОЯТЬ) РАБОЧЕЕ ОБОРУДОВАНИЕ

Схема запчастей Komatsu PC60-7E-B - СОЕДИНЕНИЕ КОВША (ДЛЯ ТЕЛЕСКОПИЧЕСК. РУКОЯТЬ) РАБОЧЕЕ ОБОРУДОВАНИЕ
FIT
1:1
100%

Артикул

Название

Примечание

Количество

|1

201-70-00810

LINK ASS'Y,L.H.

1

LINK,L.H.

2

20X-70-24150

BUSHING

3

201-70-64270

BUSHING

4

07145-00060

SEAL,DUST

5

07145-00050

SEAL,DUST

6

07020-00000

FITTING,GREASE

7

07020-00900

FITTING,GREASE

|8

201-70-00820

LINK ASS'Y,R.H.

8

LINK,R.H.

9

20X-70-24150

BUSHING

10

201-70-64270

BUSHING

11

07145-00060

SEAL,DUST

12

07145-00050

SEAL,DUST

13

07020-00000

FITTING,GREASE

14

07020-00900

FITTING,GREASE

15

201-70-64130

LINK

16

201-70-64140

LINK

17

20X-70-24260

SHAFT

18

07020-00000

FITTING,GREASE

19

201-70-22150

SPACER¤ 1.0MM

20

01011-81620

BOLT

21

01580-11613

NUT

22

201-70-64220

SHAFT

23

21Y-70-14770

SPACER¤ 1.0MM

|23

203-70-24150

SPACER¤ 1.0MM

|23

21Y-70-14780

SPACER¤ 2.0MM

|23

203-70-24160

SPACER¤ 2.0MM

24

01011-81620

BOLT

25

01580-11613

NUT

26

201-70-74230

PIN

27

201-70-74260

PIN

28

201-70-74274

RING

|28

201-70-74273

RING

|28

201-70-74271

RING

29

201-70-74230

PIN

30

201-70-74240

PIN

31

201-70-74254

RING

|31

201-70-74253

RING

|31

201-70-74251

RING

Выбрано товаров: 40