Запчасти Komatsu PC60-7E ОСНОВН. КОНСТРУКЦИЯ (РЫЧАГ БЛОКИРОВКИ)(№-7) КАБИНА ОПЕРАТОРА И СИСТЕМА УПРАВЛЕНИЯ

Схема запчастей Komatsu PC60-7E - ОСНОВН. КОНСТРУКЦИЯ (РЫЧАГ БЛОКИРОВКИ)(№-7) КАБИНА ОПЕРАТОРА И СИСТЕМА УПРАВЛЕНИЯ
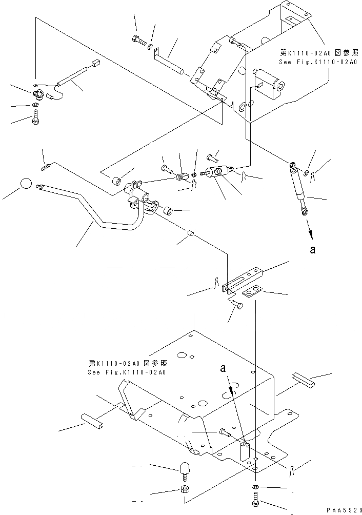
1
2
3
4
5
5
6
7
8
9
10
11
12
13
14
15
16
16
17
18
19
20
21
22
23
23
24
24
25
26
27
28
29
30
31
31
FIT
1:1
100%

Артикул

Название

Примечание

Количество

1

201-43-71141

LEVER

2

20U-43-21121

SHAFT

3

01010-50616

BOLT

4

01643-30623

WASHER

5

195-61-34120

BEARING

6

20U-43-21132

STOPPER

7

20U-43-21270

PLATE

8

01010-51035

BOLT

9

01643-31032

WASHER

10

20T-43-71271

COLLAR

11

04205-10835

PIN

12

04050-12015

PIN,COTTER

13

09304-10835

KNOB

14

20Y-54-13550

SPRING

15

20U-54-23360

SPRING

16

04050-12015

PIN,COTTER

17

04205-10822

PIN

18

01643-30823

WASHER

19

20U-43-21372

SPRING,LOOSE

20

20U-43-21390

SPRING

21

04210-20500

YOKE

22

01580-10504

NUT

23

04205-10514

PIN

24

04052-10530

PIN,SNAP

25

21K-54-11310

STOPPER

26

01580-11210

NUT

27

20T-06-71520

SWITCH,P.P.C. LOCK

28

20U-43-21360

SCREW

29

01641-20508

WASHER

30

201-06-71160

WIRING HARNESS

31

201-977-7121

SEAL

Выбрано товаров: 31