Запчасти Komatsu PC60-7E НАСОС АВТОМАТИЧ. ЗАПРАВКИ ТОПЛИВА РАЗНОЕ

Схема запчастей Komatsu PC60-7E - НАСОС АВТОМАТИЧ. ЗАПРАВКИ ТОПЛИВА РАЗНОЕ
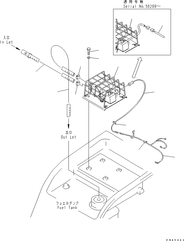
1
1
2
3
4
5
6
6
7
8
9
10
10
FIT
1:1
100%

Артикул

Название

Примечание

Количество

1

201-04-61211

PUMP ASS'Y

|1

201-04-61210

PUMP ASS'Y

2

01010-81020

BOLT

3

01643-31032

WASHER

4

203-04-41140

HOSE ASS'Y

5

203-04-41150

HOSE

6

201-06-71761

WIRING HARNESS

|6

201-06-71760

WIRE

7

201-06-71780

WIRE

8

08036-01214

CLIP

9

08034-00519

BAND

10

07281-00259

CLAMP

Выбрано товаров: 12