Запчасти Komatsu PC60-7E TERESCOPIC ЦИЛИНДР (ВНУТР. ЧАСТИ) ОСНОВН. КОМПОНЕНТЫ И РЕМКОМПЛЕКТЫ

Схема запчастей Komatsu PC60-7E - TERESCOPIC ЦИЛИНДР (ВНУТР. ЧАСТИ) ОСНОВН. КОМПОНЕНТЫ И РЕМКОМПЛЕКТЫ
FIT
1:1
100%

Артикул

Название

Примечание

Количество

G1

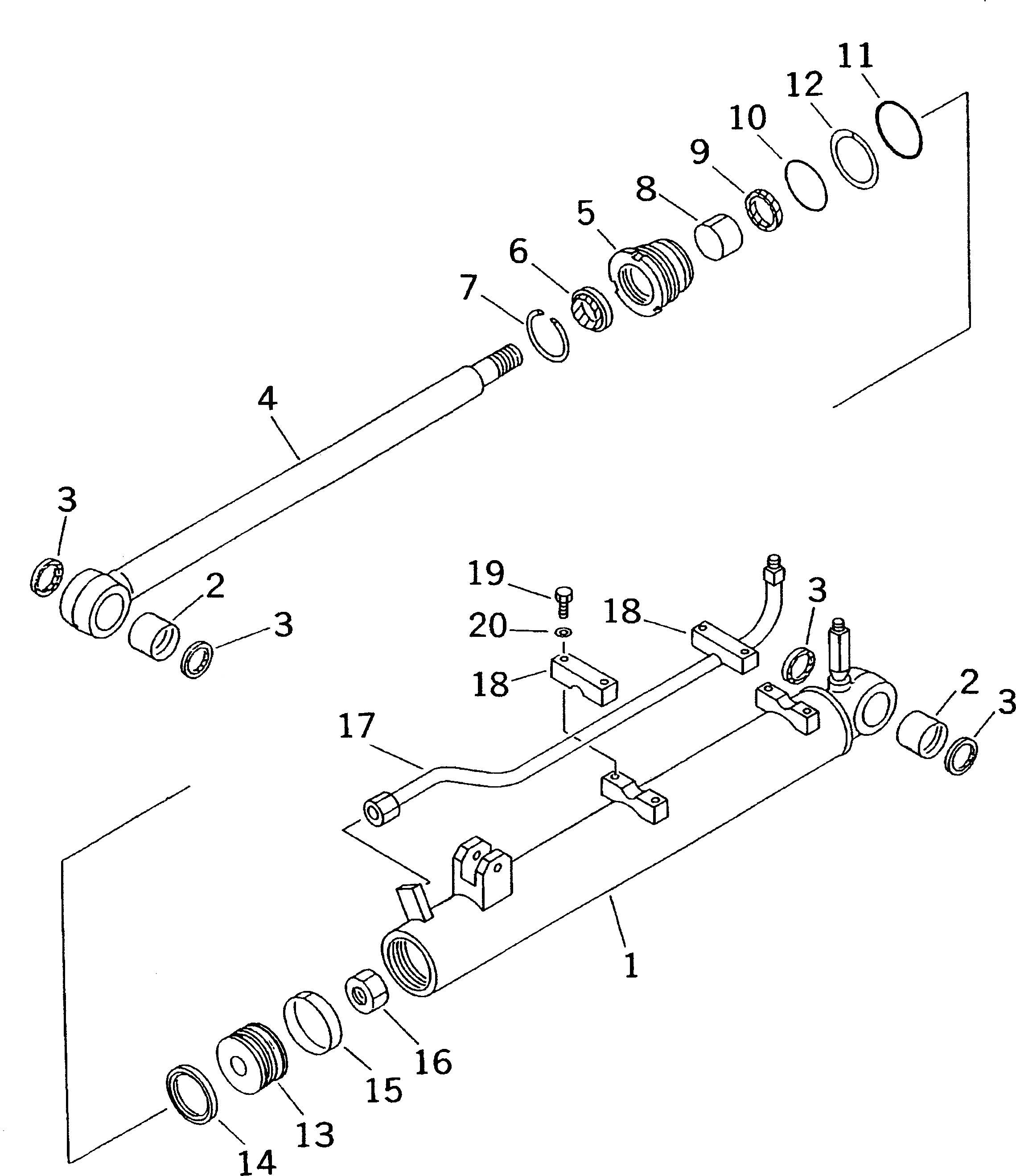
201-63-X2351

CYLINDER GROUP,TELESCOPIC

|1

201-63-02351

CYLINDER ASS'Y,TELESCOPIC

1

201-63-99141

CYLINDER

2

07143-10404

BUSHING

3

07145-00040

SEAL,DUST (KIT)

4

201-63-99120

ROD,PISTON

5

707-29-70350

HEAD,CYLINDER

6

112-63-15370

SEAL,DUST (KIT)

7

07179-12057

RING,SNAP

8

07177-04530

BUSHING

9

707-51-45210

PACKING,ROD (KIT)

10

07000-02070

O-RING (KIT)

11

07000-12065

O-RING (KIT)

12

07146-02066

RING,BACK-UP (KIT)

13

707-36-70360

PISTON

14

707-44-70180

RING,PISTON (KIT)

15

07156-00710

RING,WEAR (KIT)

16

01580-03326

NUT

17

201-63-99170

TUBE

18

707-88-17360

BRACKET

19

01010-51235

BOLT

20

01643-31232

WASHER

K

707-98-15680

SERVICE KIT,TELESCOPIC CYLINDER

Выбрано товаров: 23