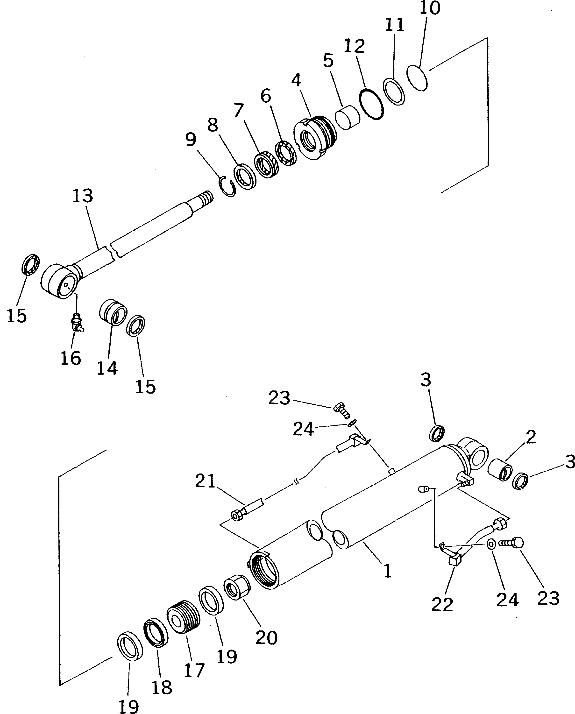
Запчасти Komatsu PC60-7S-B ЦИЛИНДР КОВША (ВНУТР. ЧАСТИ)(№-7) ОСНОВН. КОМПОНЕНТЫ И РЕМКОМПЛЕКТЫ

Схема запчастей Komatsu PC60-7S-B - ЦИЛИНДР КОВША (ВНУТР. ЧАСТИ)(№-7) ОСНОВН. КОМПОНЕНТЫ И РЕМКОМПЛЕКТЫ
FIT
1:1
100%

Артикул

Название

Примечание

Количество

G1

201-63-X2322

CYLINDER GROUP,BUCKET

|1

201-63-02322

CYLINDER ASS'Y \,BUCKET

1

201-63-76242

CYLINDER,BUCKET

2

707-76-50040

BUSHING

3

07145-00050

SEAL,DUST (KIT)

4

707-29-90801

HEAD

5

707-52-90300

BUSHING

6

707-51-55630

RING,BUFFER (KIT)

7

707-51-55030

PACKING,ROD (KIT)

8

707-56-55510

SEAL,DUST (KIT)

9

07179-12069

RING,SNAP

10

07000-12085

O-RING (KIT)

11

07146-02086

RING,BACK-UP (KIT)

12

07000-02090

O-RING (KIT)

13

201-63-76222

ROD,PISTON

14

707-76-60080

BUSHING

15

07145-00060

SEAL,DUST (KIT)

16

07020-00675

FITTING,GREASE

17

707-36-90200

PISTON

18

707-44-90180

RING,PISTON (KIT)

19

707-39-90110

RING,WEAR (KIT)

20

07165-13941

NUT

21

201-63-76270

TUBE

22

201-63-76280

TUBE

23

01010-51020

BOLT

24

01643-31032

WASHER

K

707-99-26640

SERVICE KIT,BUCKET CYLINDER

Выбрано товаров: 27