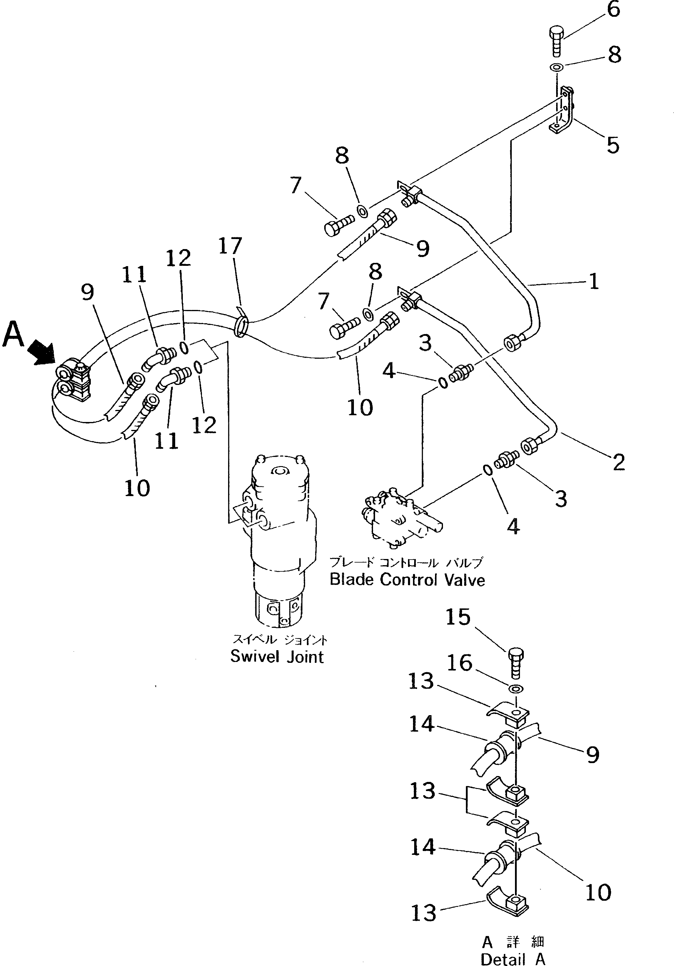
Запчасти Komatsu PC60-7S-B ОТВАЛ ЛИНИЯ (ВЕРХН.) (ЛИНИЯ ЦИЛИНДРА)(№-7) ГИДРАВЛИКА

Схема запчастей Komatsu PC60-7S-B - ОТВАЛ ЛИНИЯ (ВЕРХН.) (ЛИНИЯ ЦИЛИНДРА)(№-7) ГИДРАВЛИКА
FIT
1:1
100%

Артикул

Название

Примечание

Количество

1

201-910-7251

TUBE

2

201-910-7261

TUBE

3

20S-62-21690

UNION

4

07002-11823

O-RING

5

201-910-7540

BRACKET

6

01010-51025

BOLT

7

01010-51020

BOLT

8

01643-31032

WASHER

9

201-910-7290

HOSE¤ 870MM

10

201-910-7310

HOSE

11

20R-62-22270

ELBOW

12

07002-12034

O-RING

13

07094-00315

CLAMP

14

07095-00317

CUSHION

15

01010-51095

BOLT

16

01643-31032

WASHER

17

08034-00519

BAND

Выбрано товаров: 17