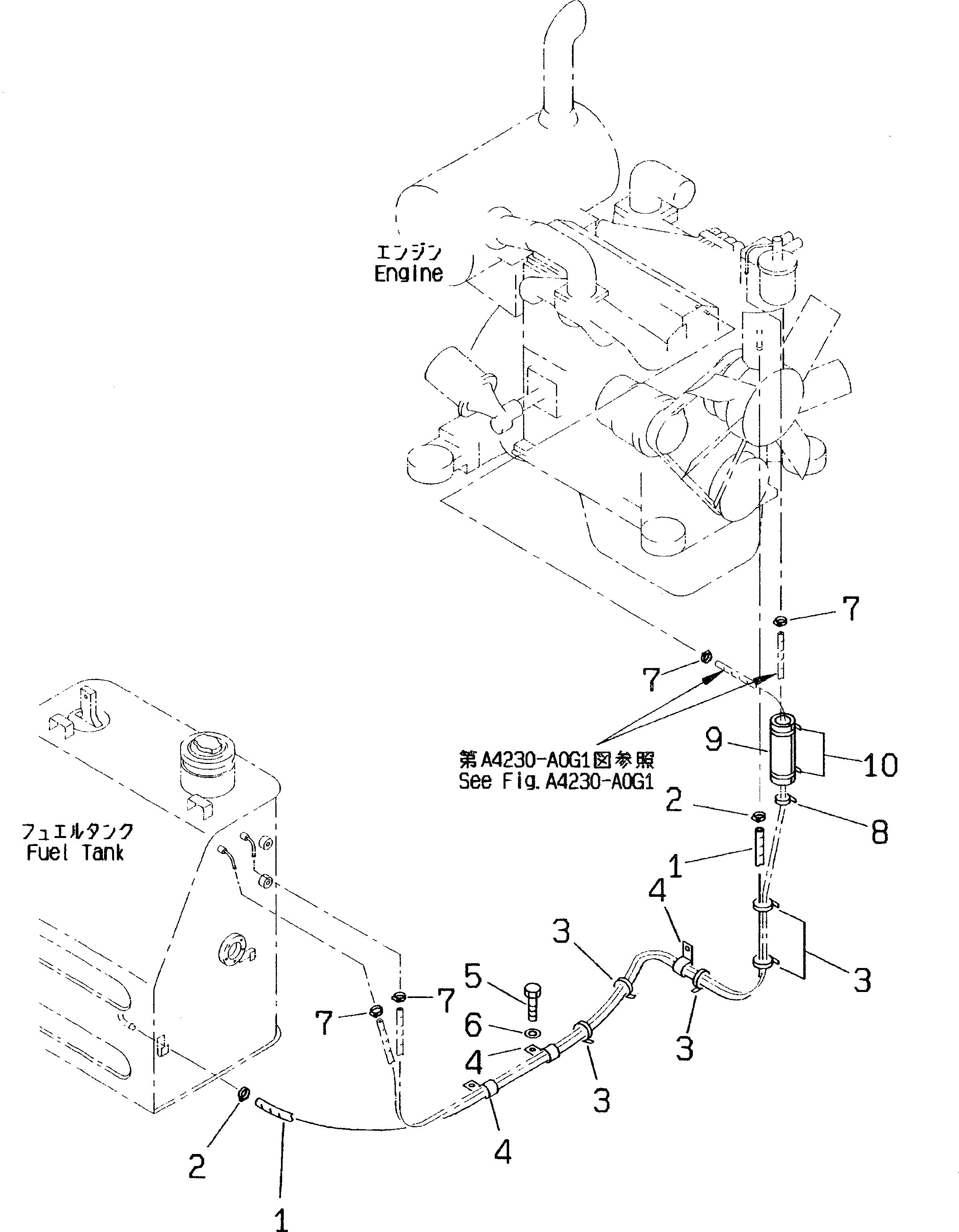
Запчасти Komatsu PC60-7S ТОПЛИВН. ЛИНИЯ(№-7) ТОПЛИВН. БАК. AND КОМПОНЕНТЫ

Схема запчастей Komatsu PC60-7S - ТОПЛИВН. ЛИНИЯ(№-7) ТОПЛИВН. БАК. AND КОМПОНЕНТЫ
FIT
1:1
100%

Артикул

Название

Примечание

Количество

1

07288-01019

HOSE

2

07281-00197

CLAMP

3

08034-00519

BAND

4

08036-02514

CLIP

5

01010-51025

BOLT

6

01643-31032

WASHER

7

07285-00085

CLIP

8

08034-30521

BAND

9

203-62-41150

COVER

10

08034-00823

BAND

Выбрано товаров: 10