Запчасти Komatsu PC60-7S I.S.O PATTERN SELECT КЛАПАН(№98-) ОСНОВН. КОМПОНЕНТЫ И РЕМКОМПЛЕКТЫ

Схема запчастей Komatsu PC60-7S - I.S.O PATTERN SELECT КЛАПАН(№98-) ОСНОВН. КОМПОНЕНТЫ И РЕМКОМПЛЕКТЫ
FIT
1:1
100%

Артикул

Название

Примечание

Количество

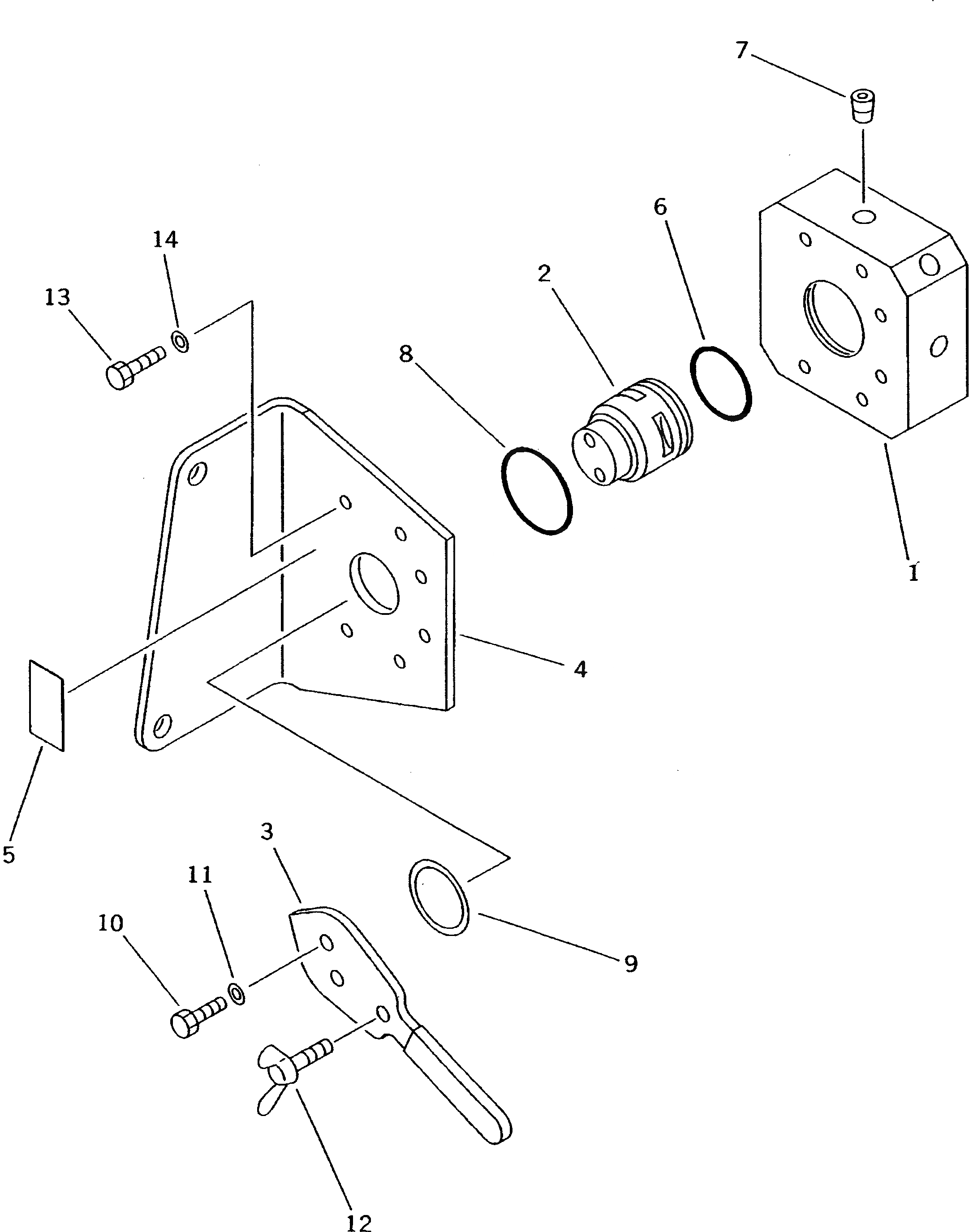
|1

20T-62-74900

VALVE ASS'Y

1

BODY

2

SHAFT

|2

SHAFT

3

20T-62-74930

LEVER

4

20T-62-74940

BRACKET

5

09822-00810

PLATE¤ OPERATING,SELECT VALVE

|5

20T-62-74950

PLATE,SELECT VALVE

6

07000-03025

O-RING

7

07043-00108

PLUG

8

07000-03032

O-RING

9

07003-12733

GASKET

10

01010-80616

BOLT

11

01643-30623

WASHER

12

01434-10620

BOLT¤ WING

13

01010-80616

BOLT

14

01643-30623

WASHER

Выбрано товаров: 17