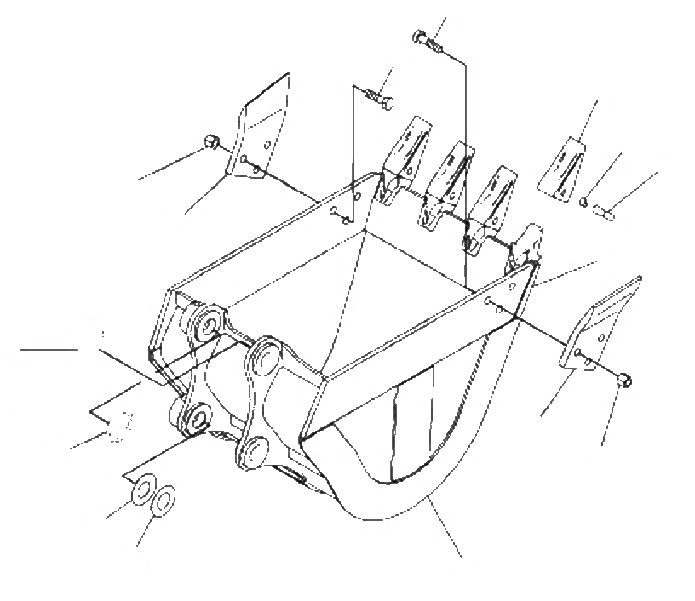
Запчасти Komatsu PC60-8 КОВШ .M 77MM T [РАБОЧЕЕ ОБОРУДОВАНИЕ]

Схема запчастей Komatsu PC60-8 - КОВШ .M 77MM T [РАБОЧЕЕ ОБОРУДОВАНИЕ]
3
4
5
8
8
9
7
6
9
1
12
11
10
10
2
FIT
1:1
100%

Артикул

Название

Примечание

Количество

1

201-70-81111

BUCKET

|$2

201-70-81B50

PLATE

|$3

201-70-81B60

PLATE, L.H

|$4

201-70-81B70

PLATE, R.H

|$5

20X-70-14151

ADAPTER

2

201-70-81A50

PLATE

3

20X-70-14160

TOOTH

4

20X-70-14170

PIN

5

20X-70-14180

SPRING

6

201-70-74171

SIDE CUTTER

7

201-70-74181

SIDE CUTTER

8

21W-70-21810

BOLT

9

01803-02228

NUT

10

175-30-16210

O-RING

11

135-70-13251

SPACER, 1.6MM

12

201-70-22150

SPACER, 1.0MM

Выбрано товаров: 16