Запчасти Komatsu PC60-8 ОСНОВН. НАСОС (/) (С ОТВАЛ) Y [ОСНОВН. КОМПОНЕНТЫ И РЕМКОМПЛЕКТЫ]

Схема запчастей Komatsu PC60-8 - ОСНОВН. НАСОС (/) (С ОТВАЛ) Y [ОСНОВН. КОМПОНЕНТЫ И РЕМКОМПЛЕКТЫ]
FIT
1:1
100%

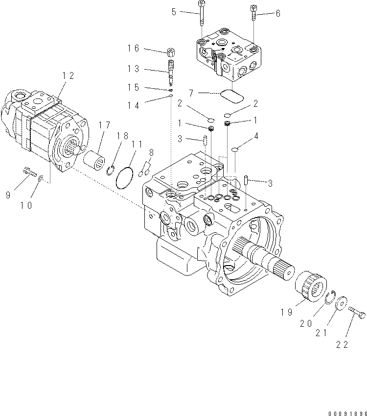
Артикул

Название

Примечание

Количество

|$1

708-3T-00151

PUMP ASS'Y

|$2

THIS ASSEMBLY CONSISTS OF ALLPARTS SHOWN IN FIGS.Y1600-11A0 T0 Y1600-14A0.

1

708-2L-25480

FILTER

2

708-2L-25490

O-RING

3

04020-00616

PIN, DOWEL

4

07000-11008

O-RING

5

01252-60855

BOLT

6

01252-60840

BOLT

7

07000-13042

O-RING

8

07000-11008

O-RING

9

07372-21030

BOLT

10

01643-31032

WASHER

11

07000-12050

O-RING

12

708-3T-04620

PUMP ASS'Y

|$15

708-3T-04160

PLUG ASS'Y

13

708-3S-15810

PLUG

14

07000-11003

O-RING

15

07001-01003

RING, BACK-UP

16

708-3S-15820

NUT

17

708-1W-28150

COUPLING

18

04065-02012

RING, SNAP

19

708-3T-12170

COUPLING

20

04065-03212

RING, SNAP

21

708-3T-12180

RETAINER

22

01010-80825

BOLT

Выбрано товаров: 25