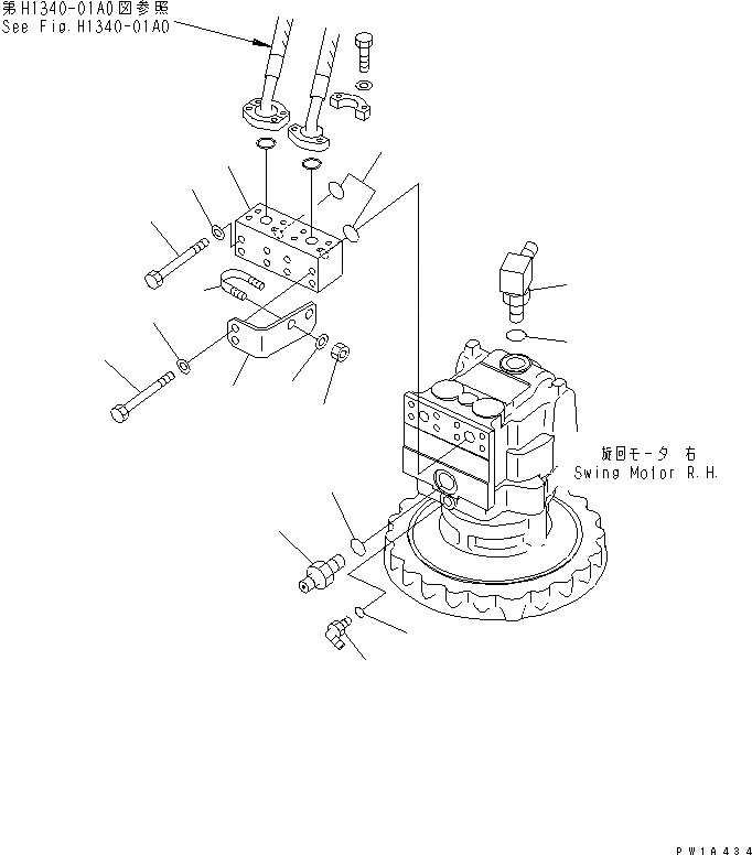
Запчасти Komatsu PC600-6A-KJ МЕХАНИЗМ ПОВОРОТА (БЛОК) (ПРАВ.)(№-) ПОВОРОТН. КРУГ И КОМПОНЕНТЫ

Схема запчастей Komatsu PC600-6A-KJ - МЕХАНИЗМ ПОВОРОТА (БЛОК) (ПРАВ.)(№-) ПОВОРОТН. КРУГ И КОМПОНЕНТЫ
1
2
3
4
5
5
6
7
8
9
10
11
12
13
14
15
FIT
1:1
100%

Артикул

Название

Примечание

Количество

1

07235-10311

ELBOW

2

07002-11423

O-RING

3

20Y-62-21421

BLOCK

4

07000-13030

O-RING

5

01643-31032

WASHER

6

01010-81080

BOLT

7

01010-81075

BOLT

8

07230-20522

UNION

9

07002-12434

O-RING

10

417-855-1370

ELBOW

11

07002-12434

O-RING

12

21M-26-11230

BRACKET

13

07283-22738

CLIP

14

01643-31032

WASHER

15

01597-01009

NUT

Выбрано товаров: 0