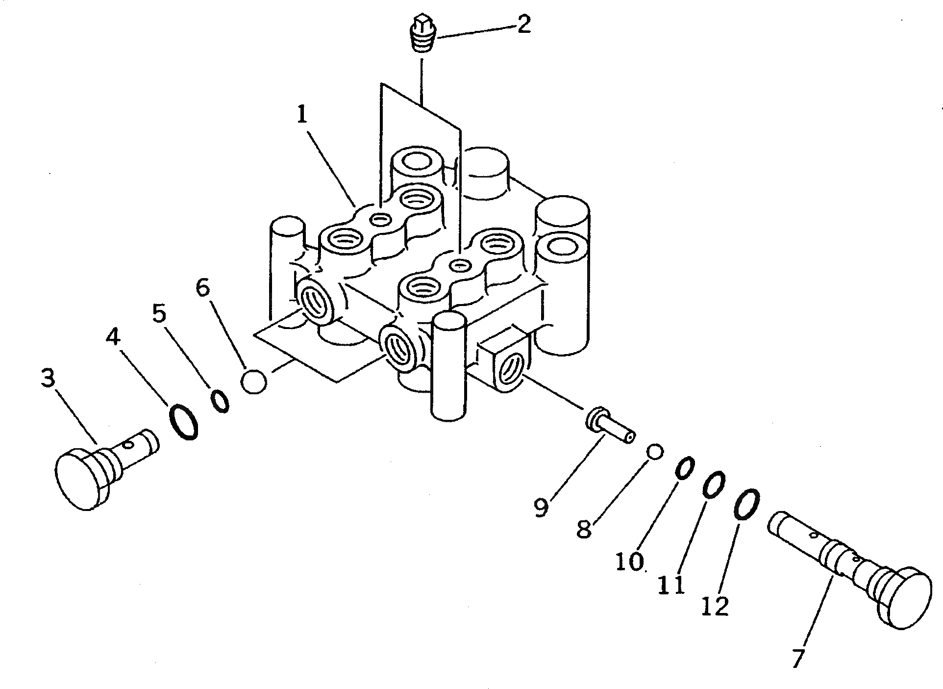
Запчасти Komatsu PC600-7 РАСПРЕДЕЛИТ. КЛАПАН ОСНОВН. КОМПОНЕНТЫ И РЕМКОМПЛЕКТЫ

Схема запчастей Komatsu PC600-7 - РАСПРЕДЕЛИТ. КЛАПАН ОСНОВН. КОМПОНЕНТЫ И РЕМКОМПЛЕКТЫ
FIT
1:1
100%

Артикул

Название

Примечание

Количество

|$1

702-19-25000

VALVE ASS'Y,CHECK

1

702-19-12320

BLOCK

2

07042-30108

PLUG

3

702-19-12120

PLUG

4

07002-11423

O-RING

5

07000-11007

O-RING

6

04260-00952

BALL

|$9

702-19-11000

SHUTTLE VALVE ASS'Y

7

PLUG

8

BALL

9

SEAT

10

07000-11007

O-RING

11

07000-11009

O-RING

12

07002-11423

O-RING

Выбрано товаров: 14