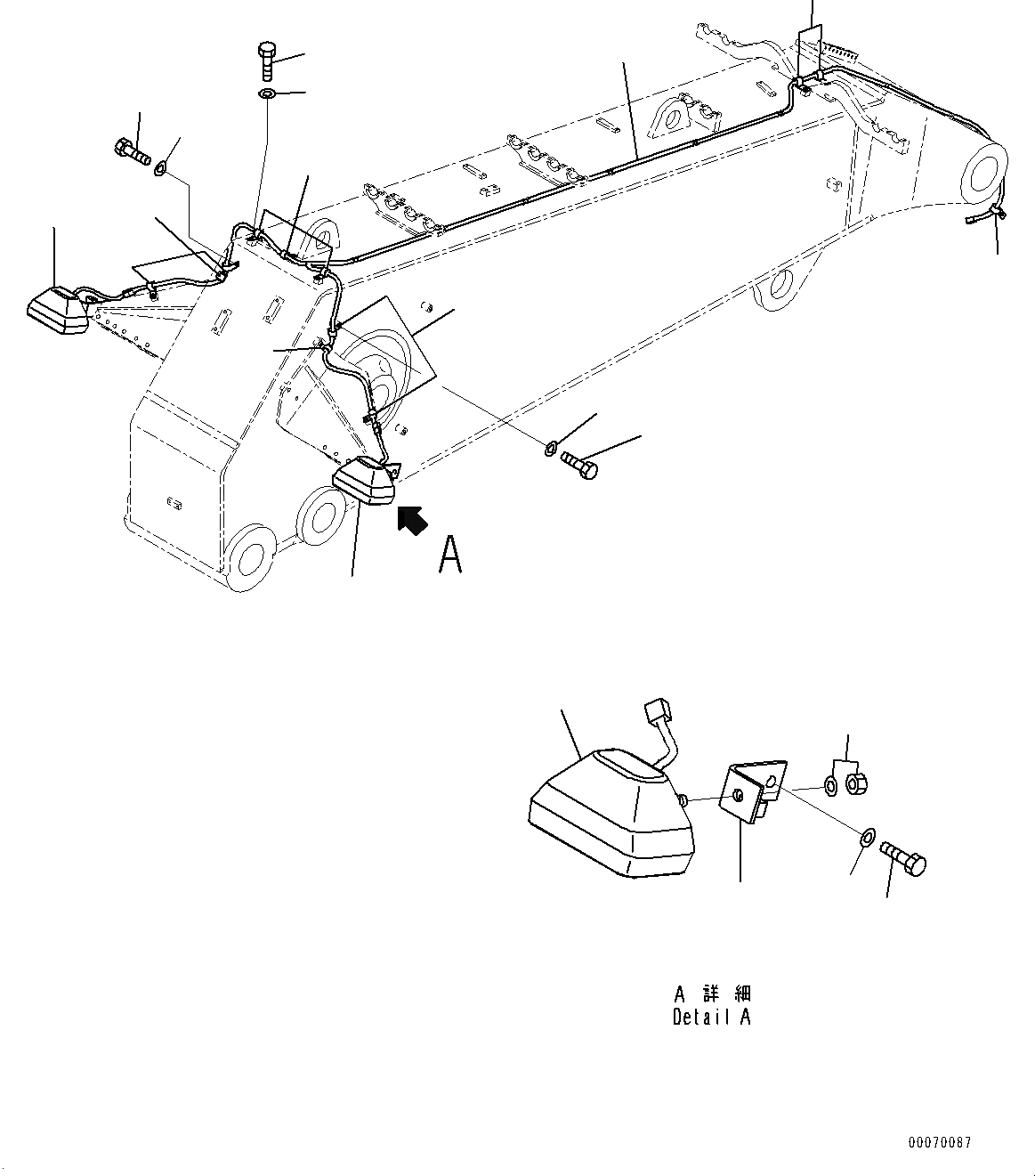
Запчасти Komatsu PC600-8R1 ПРЯМАЯ ЛОПАТА БЛОК, ЛАМПА РАБОЧ. ОСВЕЩЕНИЯ (№7-) ПРЯМАЯ ЛОПАТА БЛОК

Схема запчастей Komatsu PC600-8R1 - ПРЯМАЯ ЛОПАТА БЛОК, ЛАМПА РАБОЧ. ОСВЕЩЕНИЯ (№7-) ПРЯМАЯ ЛОПАТА БЛОК
2
2
7
6
7
6
7
6
5
5
5
5
1
5
5
3
2
4
2
8
FIT
1:1
100%

Артикул

Название

Примечание

Количество

1

21M-06-21360

Wiring Harness

2

21T-06-32810

Working Lamp Assembly

2

421-06-23330

Bulb, 70watt

3

01010-81430

Bolt

4

01643-31445

Washer, Flat

5

04434-51012

Clip

6

01010-81220

Bolt

7

01643-31232

Washer

8

20Y-06-21551

Bracket

Выбрано товаров: 9