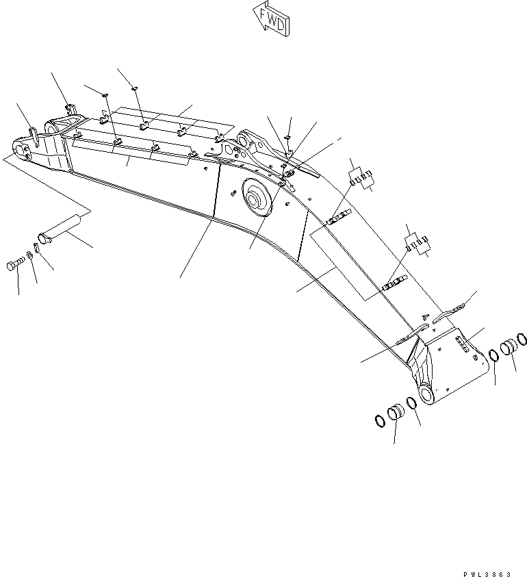
Запчасти Komatsu PC600LC-6 СТРЕЛА (7.M) (УСИЛ.) (СТРЕЛА И ВЕРХН. ПАЛЕЦ) РАБОЧЕЕ ОБОРУДОВАНИЕ

Схема запчастей Komatsu PC600LC-6 - СТРЕЛА (7.M) (УСИЛ.) (СТРЕЛА И ВЕРХН. ПАЛЕЦ) РАБОЧЕЕ ОБОРУДОВАНИЕ
1
2
3
4
5
6
7
8
8
9
10
11
12
12
13
13
14
14
15
15
16
16
17
17
18
19
20
21
FIT
1:1
100%

Артикул

Название

Примечание

Количество

|$6

21M-942-0140

BOOM ASS'Y

1

BOOM

1

BOOM

1

BOOM

2

21M-62-17440

CLAMP (WELDED)

3

209-70-57170

SEAT (WELDED)

4

21M-62-17211

BRACKET (WELDED)

5

21M-62-17221

BRACKET (WELDED)

6

21M-62-17270

BRACKET (WELDED)

7

209-62-53780

BRACKET

7

21M-62-17282

BRACKET (WELDED)

7

21M-62-17281

BRACKET (WELDED)

8

21M-62-17291

CLAMP (WELDED)

9

21M-62-17320

BRACKET (WELDED)

10

207-62-34320

BRACKET

10

21M-62-17361

BRACKET (WELDED)

10

21M-62-17360

BRACKET (WELDED)

11

21M-62-17370

BRACKET (WELDED)

12

21M-62-17230

SEAT

13

205-62-54622

SEAT

14

205-62-73430

SEAT

15

209-62-58520

SEAT

16

21M-70-11271

BUSHING

17

209-72-11261

SEAL

18

21M-70-11240

PIN

19

20Y-70-11190

PLATE

20

01010-81645

BOLT

21

01643-31645

WASHER

Выбрано товаров: 28