Запчасти Komatsu PC600LC-7-M1 НАСОС СМАЗКИ (НАСОС В СБОРЕ) ОСНОВН. КОМПОНЕНТЫ И РЕМКОМПЛЕКТЫ

Схема запчастей Komatsu PC600LC-7-M1 - НАСОС СМАЗКИ (НАСОС В СБОРЕ) ОСНОВН. КОМПОНЕНТЫ И РЕМКОМПЛЕКТЫ
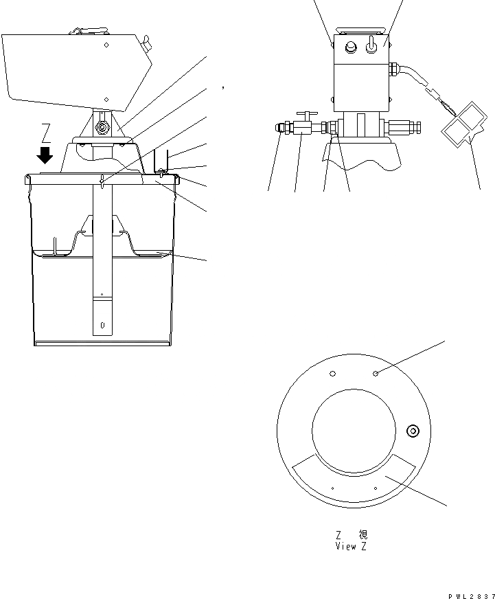
1
2
3
4
5
6
7
8
9
10
11
12
13
14
15
16
17
18
FIT
1:1
100%

Артикул

Название

Примечание

Количество

|1

21M-98-11110

GREASE PUMP ASS'Y

1

YU682481-4

ADAPTER

2

YU802584-4

VALVE KIT,SPRING

3

YU710915-3

LID

4

YU790713-4

NAME PLATE

5

YU683122-4

PLUG

6

YU683347-4

SCREW

7

YU802649-2

COVER ASS'Y

8

YU851835-2

GREASE PUMP ASS'Y

9

YU602296-1

SCREW

10

YU631418-1

WASHER

11

YU610623-1

BOLT

12

YU803085-4

PLATE ASS'Y

13

YU707937-4

HOLDER

14

YU602298-1

SCREW

15

YU707880-4

WASHER

16

YU701930-4

WASHER

17

08055-00292

CONNECTOR

18

YU681900A4

NIPPLE

Выбрано товаров: 19