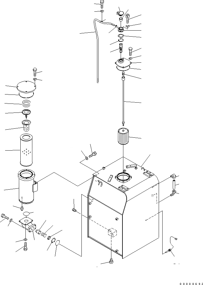
Запчасти Komatsu PC600LC-7 ГИДР. БАК. (БАК И ФИЛЬТР.) ГИДРАВЛИКА

Схема запчастей Komatsu PC600LC-7 - ГИДР. БАК. (БАК И ФИЛЬТР.) ГИДРАВЛИКА
1
2
2
3
4
5
6
7
8
9
10
11
12
13
14
15
16
17
18
19
20
21
22
23
24
25
26
27
28
29
30
31
32
33
34
35
36
37
38
39
40
41
42
43
44
45
46
47
48
49
FIT
1:1
100%

Артикул

Название

Примечание

Количество

|$7

21M-60-00170

HYD. TANK ASS'Y

1

TANK

2

203-60-31100

ELBOW ASS'Y

3

203-60-31160

TUBE

4

198-60-19820

VALVE

5

07040-13618

PLUG

6

207-60-61171

COVER

7

07000-15180

O-RING

8

01010-81225

BOLT

9

01643-31232

WASHER

|$22

21M-60-11140

STRAINER ASS'Y

10

207-60-51200

STRAINER

11

21M-60-11150

ROD ASS'Y

12

12R-60-11230

SPRING

13

17A-60-11310

CAP ASS'Y

14

20Y-60-21470

ELEMENT

15

208-60-71180

FILLER NECK

15

20Y-60-21460

NECK

16

20Y-60-21340

GASKET

17

01252-70516

BOLT

18

01601-20513

WASHER

19

07056-10045

STRAINER

20

04065-04718

RING

21

07270-61418

TUBE

22

07285-00155

CLIP

23

04434-51812

CLIP

24

01010-81225

BOLT

25

01643-31232

WASHER

26

7861-93-3320

SENSOR

27

21M-60-11240

CASE

28

205-60-71141

COVER

29

07000-15180

O-RING

30

01010-81230

BOLT

31

01643-31232

WASHER

32

07069-34057

SPRING

33

20Y-60-31131

VALVE ASS'Y

34

20Y-60-31140

STRAINER

35

209-60-77532

ELEMENT

35

209-60-77531

ELEMENT

35

209-60-77530

ELEMENT

36

21N-60-31240

POPPET

37

706-76-71190

SPRING

38

04065-05020

RING

39

207-60-51170

SPACER

40

07042-30211

PLUG

41

208-60-61321

BRACKET

42

01010-81025

BOLT

43

01643-31032

WASHER

44

07000-12095

O-RING

45

01010-81230

BOLT

46

175-54-34170

WASHER

47

07000-12060

O-RING

48

01010-81245

BOLT

49

01643-31232

WASHER

Выбрано товаров: 54