Запчасти Komatsu PC600LC-7K ГИДР. БАК. (ДВЕРЬ) ГИДРАВЛИКА

Схема запчастей Komatsu PC600LC-7K - ГИДР. БАК. (ДВЕРЬ) ГИДРАВЛИКА
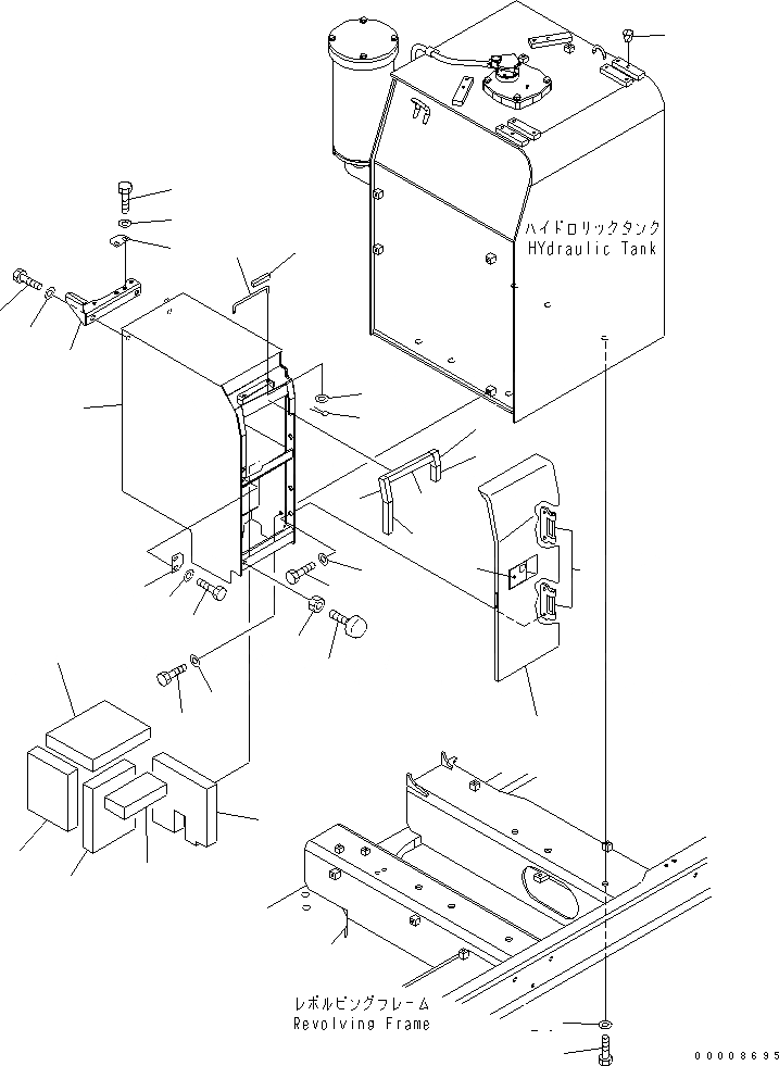
1
2
3
4
5
6
7
8
9
10
11
11
12
13
14
14
14
14
15
15
15
15
16
17
18
19
20
21
22
23
24
25
26
27
28
29
FIT
1:1
100%

Артикул

Название

Примечание

Количество

1

209-53-13521

COVER

2

198-54-41982

LOCK ASS'Y

3

21M-54-11220

HINGE

4

21M-54-19211

CASE

5

209-53-13530

SHEET

6

209-53-13540

SHEET

7

209-53-13550

SHEET

8

209-53-13560

SHEET

9

209-53-13570

SHEET

10

209-53-13580

SHEET

11

21M-54-11771

PLATE

12

21M-54-19280

BRACKET

13

20Y-54-11611

STOPPER

14

01010-81230

BOLT

15

01643-31232

WASHER

16

01580-11008

NUT

17

21M-54-13760

SHEET

18

21M-54-13770

SHEET

19

175-43-41261

ROD

20

01643-30623

WASHER

21

04050-11612

PIN

22

21M-54-19250

SHEET

23

21M-54-19260

SHEET

24

21M-54-19270

SHEET

25

01010-81230

BOLT

26

01643-31232

WASHER

27

07049-01418

PLUG

28

01010-82045

BOLT

29

01643-32060

WASHER

Выбрано товаров: 29