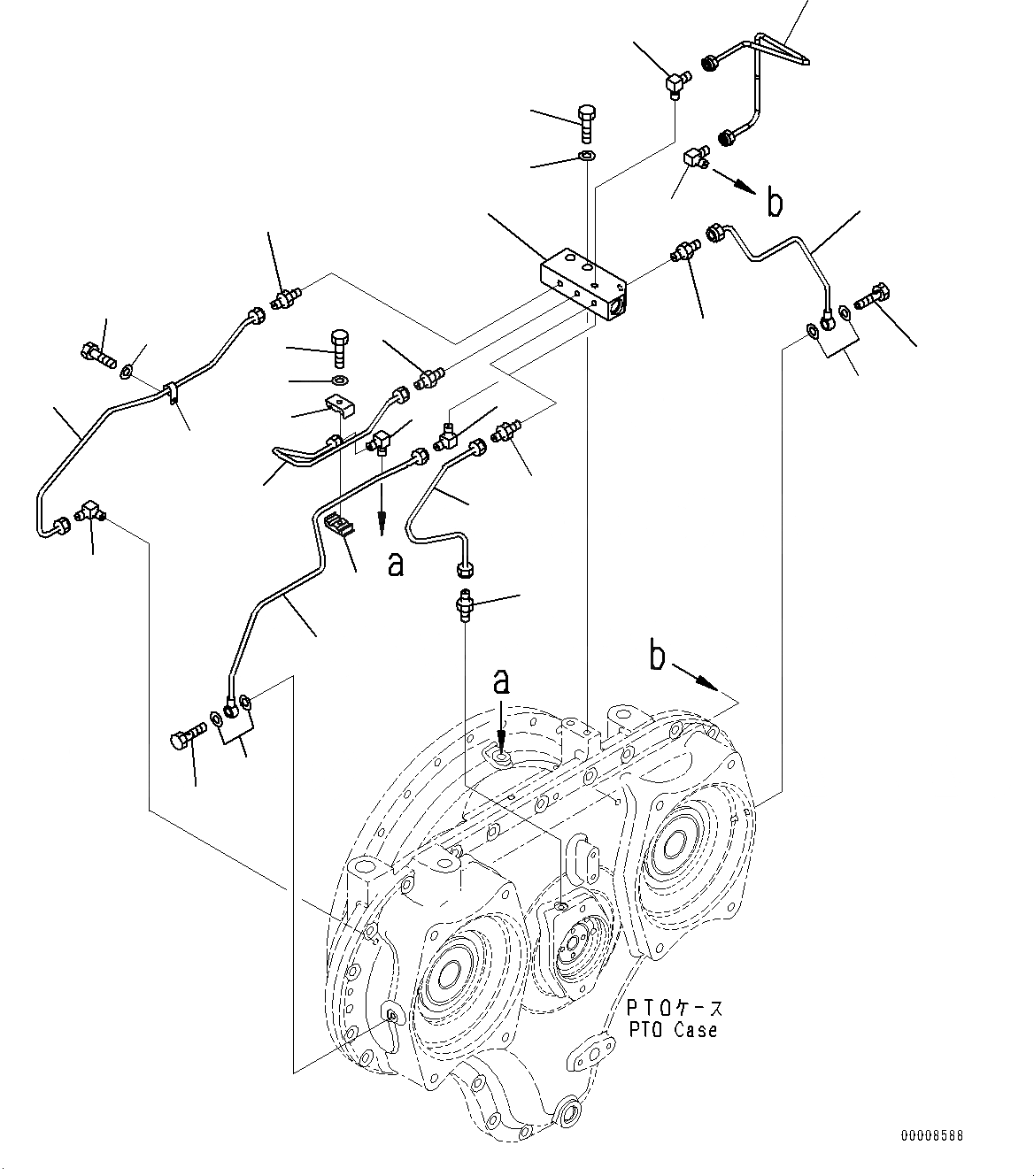
Запчасти Komatsu PC600LC-8E0 POWER TAKEOFF, СМАЗЫВАЮЩ. ЛИНИЯ (№-) POWER TAKEOFF

Схема запчастей Komatsu PC600LC-8E0 - POWER TAKEOFF, СМАЗЫВАЮЩ. ЛИНИЯ (№-) POWER TAKEOFF
5
1
2
3
4
5
6
7
8
9
10
11
12
13
14
15
16
17
18
19
20
21
22
4
4
4
4
5
5
5
FIT
1:1
100%

Артикул

Название

Примечание

Количество

1

21M-38-11130

Block

2

01010-81255

Bolt

3

01643-31232

Washer

4

07213-50710

Connector

5

176-43-41350

Elbow

6

21M-38-11270

Tube

7

07005-01012

Seal, Washer

8

209-38-51440

Joint

9

21M-38-11290

Tube

10

07005-01012

Seal, Washer

11

209-38-51440

Joint

12

21M-38-11230

Tube

13

21M-38-11540

Tube

14

21M-38-11251

Tube

15

21M-38-11261

Tube

16

21T-38-12270

Clip

17

01010-81020

Bolt

18

01643-31032

Washer

19

6162-73-5510

Clamp

20

6162-73-5520

Clamp

21

01010-80630

Bolt

22

01602-20619

Washer

Выбрано товаров: 22