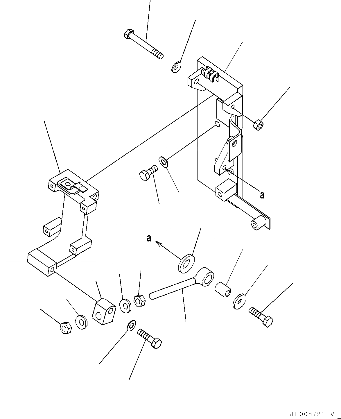
Запчасти Komatsu PC600LC-8R1 КОНДИЦ. ВОЗДУХА, КОРПУС (№7-) КОНДИЦ. ВОЗДУХА

Схема запчастей Komatsu PC600LC-8R1 - КОНДИЦ. ВОЗДУХА, КОРПУС (№7-) КОНДИЦ. ВОЗДУХА
3
2
7
5
6
15
13
14
11
17
17
16
16
9
8
12
4
1
10
FIT
1:1
100%

Артикул

Название

Примечание

Количество

1

21M-979-3210

Bracket

2

01010-81235

Bolt

3

01643-31232

Washer

4

21M-979-2120

Bracket

5

01019-31240

Bolt

6

01643-31232

Washer

7

01580-11210

Nut

8

21T-979-3270

Plate

9

01010-81250

Bolt

10

01643-31232

Washer

11

6240-81-8640

Rod

12

01643-32260

Washer

13

175-54-34170

Washer

14

6215-81-6150

Pin

15

01010-81250

Bolt

16

01643-31445

Washer, Flat

17

01580-11411

Nut

Выбрано товаров: 17