Запчасти Komatsu PC60L-5 ГИДРОЛИНИЯ (ИЗ НАСОСА В КЛАПАН) (С ВЫБОРОМ РЕЖИМА OLSS) ГИДРАВЛИКА

Схема запчастей Komatsu PC60L-5 - ГИДРОЛИНИЯ (ИЗ НАСОСА В КЛАПАН) (С ВЫБОРОМ РЕЖИМА OLSS) ГИДРАВЛИКА
FIT
1:1
100%

Артикул

Название

Примечание

Количество

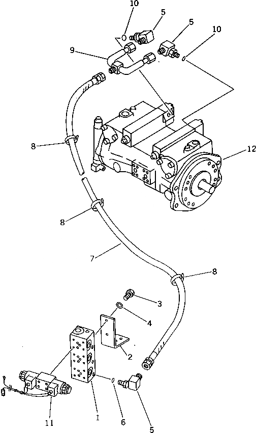
1

20X-62-21491

BLOCK

2

20X-62-21980

BRACKET

3

01010-51025

BOLT

4

01643-31032

WASHER

5

07235-10210

ELBOW

6

07002-01423

O-RING

7

07102-20214

HOSE

8

08034-00823

BAND

9

20X-62-21631

TUBE

10

07002-01423

O-RING

11

21K-60-12301

SOLENOID VALVE ASS'Y

12

708-21-10101

PUMP ASS'Y

Выбрано товаров: 12