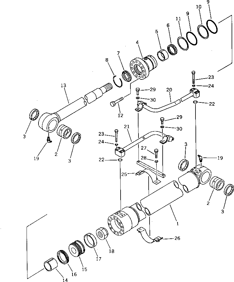
Запчасти Komatsu PC60L-5 ЦИЛИНДР СТРЕЛЫ РАБОЧЕЕ ОБОРУДОВАНИЕ

Схема запчастей Komatsu PC60L-5 - ЦИЛИНДР СТРЕЛЫ РАБОЧЕЕ ОБОРУДОВАНИЕ
FIT
1:1
100%

Артикул

Название

Примечание

Количество

|1

201-63-02010

BOOM CYLINDER ASS'Y

1

201-63-56341

CYLINDER

2

707-76-65040

BUSHING

3

07145-00065

SEAL,DUST

4

707-28-10170

HEAD,CYLINDER

5

07177-06530

BUSHING

6

707-51-65211

PACKING,ROD

7

144-63-92170

SEAL,DUST

8

07179-00088

RING,SNAP

9

07000-12095

O-RING

10

07146-02096

RING,BACK-UP

11

707-35-91010

RING,BACK-UP

12

01010-81450

BOLT

13

201-63-56320

ROD,PISTON

14

707-71-50540

PLUNGER

15

707-36-10261

PISTON

16

707-44-10080

RING,PISTON

17

07155-01025

RING,WEAR

18

07165-14547

NUT

19

07020-00675

FITTING,GREASE

20

201-63-56381

TUBE

21

201-63-56371

TUBE

22

07000-13025

O-RING

23

01010-50850

BOLT

24

01602-20825

WASHER,SPRING

25

707-88-99691

BRACKET

26

707-88-97720

BAND

27

01010-51035

BOLT

28

01602-21030

WASHER,SPRING

29

01010-51020

BOLT

30

01643-31032

WASHER

Выбрано товаров: 31