Запчасти Komatsu PC60L-5 ПЕРЕДН. ОТВАЛ ОПЦИОННЫЕ КОМПОНЕНТЫ

Схема запчастей Komatsu PC60L-5 - ПЕРЕДН. ОТВАЛ ОПЦИОННЫЕ КОМПОНЕНТЫ
FIT
1:1
100%

Артикул

Название

Примечание

Количество

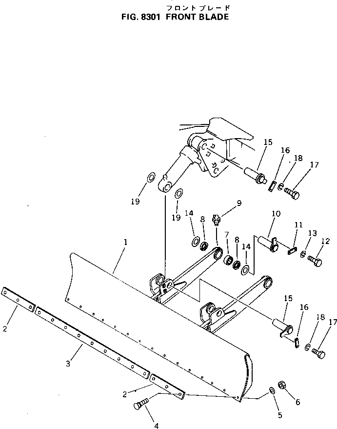
1

201-910-5110

BLADE

2

20S-71-12230

EDGE,CUTTING

3

201-910-5120

EDGE,CUTTING

4

02090-10845

BOLT

5

01643-31445

WASHER

6

02290-10813

NUT

7

07144-10506

BUSHING

8

07145-00055

SEAL,DUST

9

07020-00675

FITTING,GREASE

10

201-610-5130

SHAFT

11

201-70-21210

PLATE

12

01010-51230

BOLT

13

01602-21236

WASHER,SPRING

14

20S-71-11230

SHIM¤ 1.0MM

|14

20S-71-11240

SPACER¤ 2.3MM

15

201-910-5130

SHAFT

16

201-70-21210

PLATE

17

01010-51230

BOLT

18

01602-21236

WASHER,SPRING

19

20S-71-11230

SHIM¤ 1.0MM

Выбрано товаров: 20