Запчасти Komatsu PC60L-5 ЦИЛИНДР ОТВАЛА (ДЛЯ ПЕРЕДН. ОТВАЛ) ОПЦИОННЫЕ КОМПОНЕНТЫ

Схема запчастей Komatsu PC60L-5 - ЦИЛИНДР ОТВАЛА (ДЛЯ ПЕРЕДН. ОТВАЛ) ОПЦИОННЫЕ КОМПОНЕНТЫ
FIT
1:1
100%

Артикул

Название

Примечание

Количество

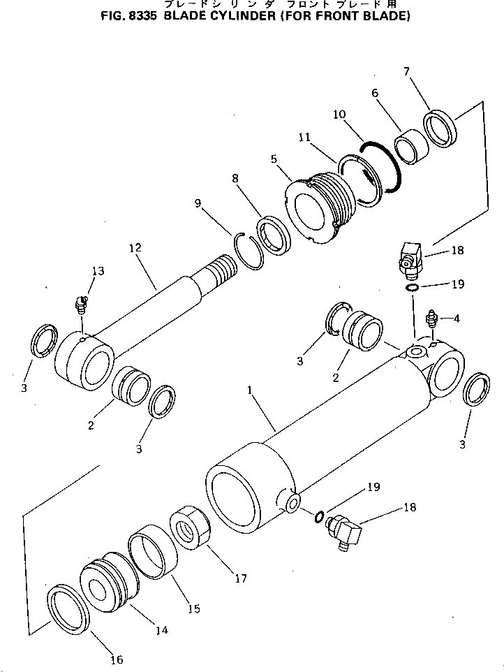
|1

201-63-02070

CYLINDER ASS'Y,L.H.

|1

201-63-02080

CYLINDER ASS'Y,R.H.

1

201-63-92140

CYLINDER,L.H.

|1

201-63-92240

CYLINDER,R.H.

2

07144-10506

BUSHING

3

07145-00055

SEAL,DUST

4

07020-00000

FITTING,GREASE

5

707-29-10391

HEAD,CYLINDER

6

07177-06030

BUSHING

7

707-51-60211

PACKING,ROD

8

141-63-93270

SEAL,DUST

9

07179-00082

RING,SNAP

10

07000-12105

O-RING

11

101-63-81230

RING,BACK-UP

12

201-63-92120

ROD,PISTON

13

07020-00675

FITTING,GREASE

14

707-36-10281

PISTON

15

07155-01025

RING,WEAR

16

707-44-10080

RING,PISTON

17

07165-14547

NUT

18

20S-62-11310

ELBOW

19

07002-12434

O-RING

Выбрано товаров: 0