Запчасти Komatsu PC60L-5 МЕХ-М УПРАВЛ-Я РАБОЧ. ОБОРУД-EM (ДЛЯ РУКОЯТИ¤ ПОВОРОТН.) (/) (ДЛЯ ЯПОН.) СИСТЕМА УПРАВЛЕНИЯ

Схема запчастей Komatsu PC60L-5 - МЕХ-М УПРАВЛ-Я РАБОЧ. ОБОРУД-EM (ДЛЯ РУКОЯТИ¤ ПОВОРОТН.) (/) (ДЛЯ ЯПОН.) СИСТЕМА УПРАВЛЕНИЯ
FIT
1:1
100%

Артикул

Название

Примечание

Количество

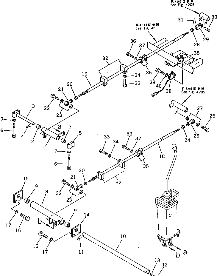
1

203-43-42631

LEVER

2

195-61-34130

BEARING

3

203-43-42691

SHAFT

|3

203-43-42690

SHAFT

4

04050-13030

PIN,COTTER

5

203-43-41310

BLOCK

6

01010-51060

BOLT

7

01643-31032

WASHER

8

20X-43-21350

LEVER,ARM

9

205-43-73190

BEARING

10

203-43-42312

SHAFT

11

04050-13040

PIN,COTTER

12

01010-50820

BOLT

13

01602-20825

WASHER,SPRING

14

203-43-42322

BRACKET

15

203-43-42680

BRACKET

16

01010-51230

BOLT

17

01643-31232

WASHER

18

20X-43-21540

ROD

19

20X-43-21550

ROD

20

01582-11008

NUT

21

04250-41056

END,ROD

22

01010-51030

BOLT

23

01643-31032

WASHER

|23

04254-01032

SPACER

24

01508-21006

NUT,L.H. THREAD

25

04250-61056

END,ROD

26

01010-51030

BOLT

27

01643-31032

WASHER

|27

04254-01032

SPACER

28

01508-21006

NUT,L.H. THREAD

29

04220-21040

YOKE

30

04205-11028

PIN

31

04050-13020

PIN,COTTER

32

203-43-42750

PLATE

33

01010-51030

BOLT

34

01643-31032

WASHER

35

20X-43-21490

PLATE

36

01010-50830

BOLT

37

01602-20825

WASHER,SPRING

38

22W-06-15861

SWITCH,LIMIT

39

01010-51035

BOLT

40

01643-31032

WASHER

Выбрано товаров: 43