Запчасти Komatsu PC60L-5 КАБИНА (/) (КРОМЕ ЯПОН.) ОСНОВНАЯ РАМА¤ ЧАСТИ КОРПУСА И КАБИНА

Схема запчастей Komatsu PC60L-5 - КАБИНА (/) (КРОМЕ ЯПОН.) ОСНОВНАЯ РАМА¤ ЧАСТИ КОРПУСА И КАБИНА
FIT
1:1
100%

Артикул

Название

Примечание

Количество

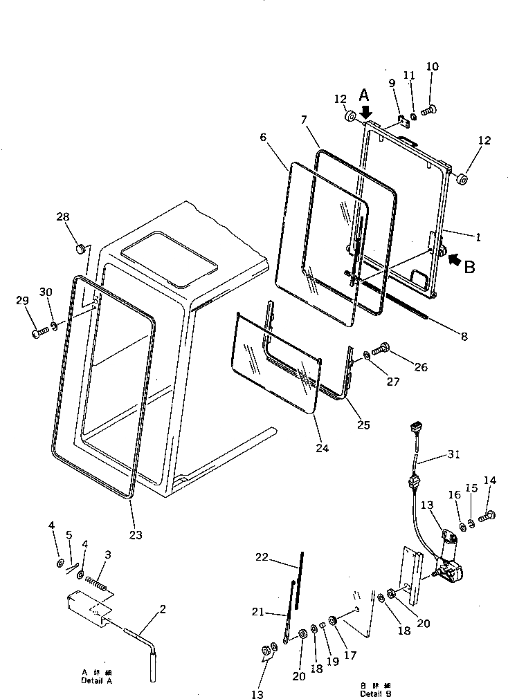
|1

201-54-00500

OPERATOR'S CAB ASS'Y

|1

205-54-00261

FRONT WINDOW ASS'Y

1

205-54-71132

WINDOW,FRONT

2

205-54-72650

PIN

3

205-54-66330

SPRING

4

01641-21016

WASHER

5

04050-13018

PIN,COTTER

6

205-54-71211

GLASS

7

205-54-71520

STRIP,WEATHER

8

205-54-71621

SEAL

9

205-54-72570

STRIKER

10

01224-40820

SCREW

11

205-54-72750

WASHER,LOCK

12

205-54-72590

ROLLER

13

205-06-71410

WIPER MOTOR ASS'Y

14

01220-40516

SCREW

15

01601-20513

WASHER,SPRING

16

01641-20508

WASHER

17

205-06-62230

GROMMET

18

205-06-62270

WASHER

19

205-06-62240

COLLAR

20

205-06-62250

NUT

21

205-06-71420

ARM

21A

ND857199-0100

PIN KIT

22

205-06-62570

BLADE

23

205-54-71510

TRIM

24

205-54-76310

GLASS ASS'Y

25

205-54-72621

BRACKET

26

01010-50616

BOLT

27

01643-30623

WASHER

28

09415-01610

CAP

29

01220-40412

SCREW

30

01601-20410

WASHER,SPRING

31

203-06-41710

WIRE

Выбрано товаров: 34