Запчасти Komatsu PC60L-5 КАБИНА (/) (КРОМЕ ЯПОН.) ОСНОВНАЯ РАМА¤ ЧАСТИ КОРПУСА И КАБИНА

Схема запчастей Komatsu PC60L-5 - КАБИНА (/) (КРОМЕ ЯПОН.) ОСНОВНАЯ РАМА¤ ЧАСТИ КОРПУСА И КАБИНА
FIT
1:1
100%

Артикул

Название

Примечание

Количество

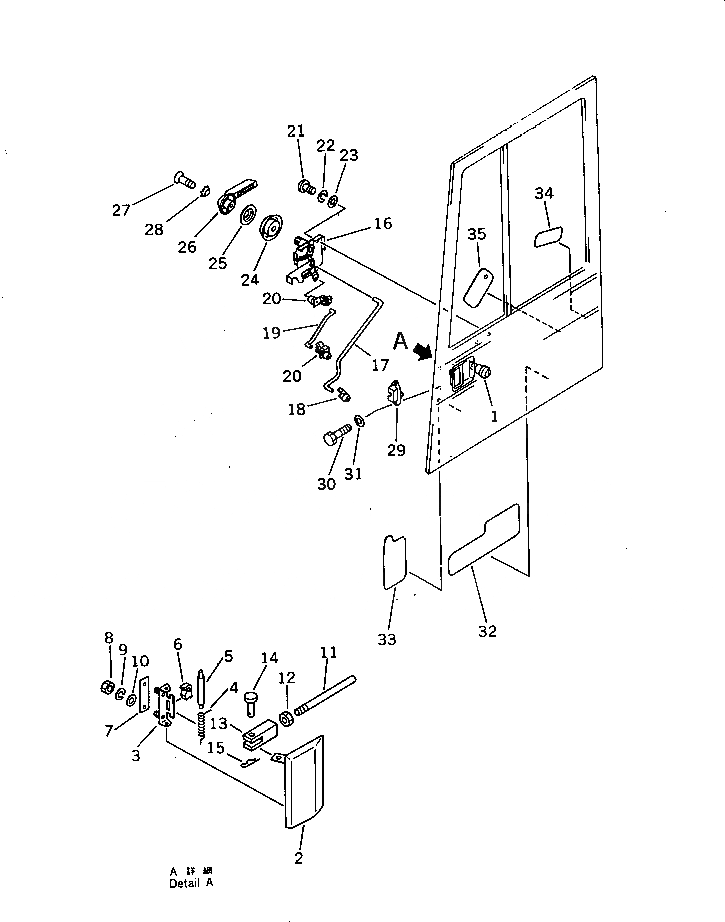
|1

201-54-00500

OPERATOR'S CAB ASS'Y

|1

201-54-00520

DOOR ASS'Y

1

205-54-71642

LOCK ASS'Y

|2

205-54-72101

HANDLE ASS'Y

2

205-54-72111

HANDLE

3

205-54-72121

BRACKET

4

205-54-72130

SPRING

5

205-54-72140

PIN

6

205-54-72150

CUSHION

7

205-54-72160

PACKING

8

01580-10605

NUT

9

01602-20619

WASHER,SPRING

10

01641-20608

WASHER

11

205-54-76290

ROD

12

01580-10605

NUT

13

04211-20634

YOKE

14

04205-10620

PIN

15

04052-00633

PIN,SNAP

16

205-54-71803

CONTROL ASS'Y,REMOTE

|16

205-54-71812

CONTROL,REMOTE

17

205-54-71721

ROD

18

205-54-71840

SNAP

19

205-54-71822

ROD

20

205-54-71830

SNAP

21

01220-40610

SCREW

22

01602-20619

WASHER,SPRING

23

01641-20608

WASHER

24

566-54-24260

BASE

25

566-54-24270

ESCUTCHEON

26

205-54-71760

HANDLE

27

01225-40510

SCREW

28

205-54-71880

WASHER,LOCK

29

205-54-71710

LOCK ASS'Y

30

01010-50616

BOLT

31

01643-30623

WASHER

32

205-54-72481

SEAL

33

205-54-72491

SEAL

34

205-54-71790

SEAL

35

205-54-71780

SEAL

Выбрано товаров: 39