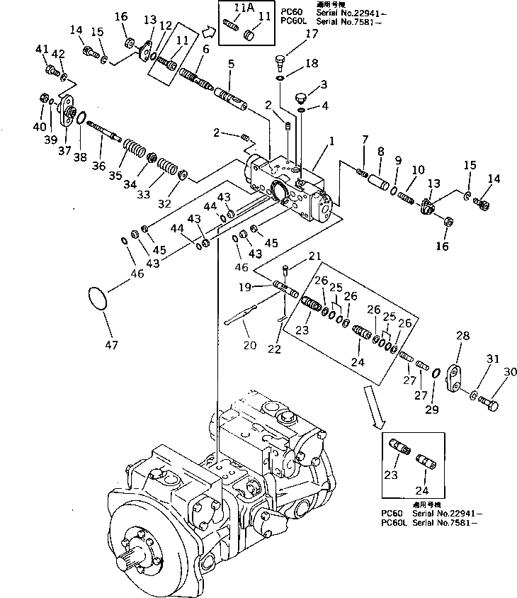
Запчасти Komatsu PC60L-5 СЕРВОКЛАПАН¤ ПЕРЕДН. ГИДРАВЛИКА

Схема запчастей Komatsu PC60L-5 - СЕРВОКЛАПАН¤ ПЕРЕДН. ГИДРАВЛИКА
FIT
1:1
100%

Артикул

Название

Примечание

Количество

|1

708-21-01011

PUMP ASS'Y,(HPV 35+35)

|1

708-21-01010

PUMP ASS'Y,(HPV 35+35)

|1

708-21-10601

PUMP ASS'Y,(HPV 35+35)

|1

708-21-07820

SERVO VALVE ASS'Y,FRONT

|1

708-21-15901

SERVO VALVE ASS'Y,FRONT

|1

708-23-07071

BODY ASS'Y

|1

708-23-07070

BODY ASS'Y

1

BODY

|1

BODY

2

PLUG

3

PLUG

4

O-RING

5

708-25-15180

SLEEVE

6

708-25-15280

SPOOL

7

708-25-15310

SPRING

8

708-25-15330

SPACER

9

07000-02012

O-RING

10

708-25-15340

SCREW

11

708-25-15430

PLUG

|11

708-25-15240

PLUG

11A

708-25-15340

SCREW

12

07000-02012

O-RING

13

708-25-15250

COVER

14

708-25-15320

BOLT

15

01602-20619

WASHER,SPRING

16

01580-00806

NUT

17

708-25-15260

PLUG

18

07002-00823

O-RING

19

708-23-15820

PISTON

20

708-23-15910

ARM

21

04205-00514

PIN

22

04050-01210

PIN,COTTER

23

708-23-15921

SLEEVE

|23

708-23-15920

SLEEVE

24

708-23-15941

SLEEVE

|24

708-23-15940

SLEEVE

25

07000-12014

O-RING

26

07001-02014

RING,BACK-UP

27

708-23-15930

PISTON

28

708-21-19240

COVER

29

07000-02014

O-RING

30

01010-30825

BOLT

31

01602-00825

WASHER,SPRING

32

708-23-15830

SEAT

33

708-23-15840

SPRING

34

708-23-15850

SEAT

35

708-21-19221

SPRING

36

708-23-15870

ROD

37

708-21-19230

COVER

38

07000-02020

O-RING

39

07002-00823

O-RING

40

708-23-15890

NUT

41

01010-30820

BOLT

42

01602-00825

WASHER,SPRING

43

720-68-11920

FILTER

44

07000-12010

O-RING

45

708-21-19150

ORIFICE

46

07000-02010

O-RING

47

07000-03048

O-RING

Выбрано товаров: 59