Запчасти Komatsu PC60L-5 ГИДРОЛИНИЯ (ИЗ НАСОСА В КЛАПАН) (АВТОМ. ЗАМЕДЛЕНИЕ ОБОРОТОВ)(С ВЫБОРОМ РЕЖИМА OLSS) ГИДРАВЛИКА

Схема запчастей Komatsu PC60L-5 - ГИДРОЛИНИЯ (ИЗ НАСОСА В КЛАПАН) (АВТОМ. ЗАМЕДЛЕНИЕ ОБОРОТОВ)    (С ВЫБОРОМ РЕЖИМА OLSS) ГИДРАВЛИКА
FIT
1:1
100%

Артикул

Название

Примечание

Количество

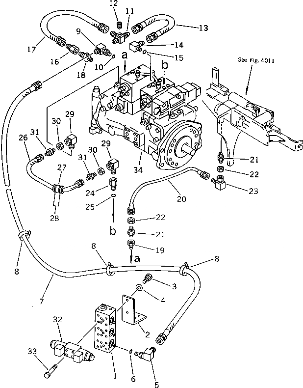
1

20X-62-21491

BLOCK

2

20X-62-21980

BRACKET

3

01010-51025

BOLT

4

01643-31032

WASHER

5

07235-10210

ELBOW

6

07002-01423

O-RING

7

07102-20214

HOSE

8

08034-00823

BAND

9

20D-62-42560

ELBOW

10

07002-01423

O-RING

11

20D-62-42430

TEE

12

07042-20108

PLUG

13

203-62-44120

HOSE

14

07235-10210

ELBOW

15

07002-01423

O-RING

16

20G-62-15760

NIPPLE

17

07103-50206

HOSE

18

208-06-11220

NIPPLE

19

07836-00410

CONNECTOR

20

07822-00405

TUBE

21

07831-00411

SLEEVE

22

07832-00410

NUT

23

07834-00410

ELBOW

24

391-40-11560

NIPPLE

25

07002-02034

O-RING

26

07822-00806

TUBE

27

201-43-22190

BUSHING

28

08034-00823

BAND

29

07834-00817

ELBOW

30

07832-00817

NUT

31

07831-00813

SLEEVE

32

203-60-41600

SOLENOID VALVE ASS'Y

33

01252-40545

BOLT

34

708-21-10401

PUMP ASS'Y

Выбрано товаров: 34