Запчасти Komatsu PC60L-5 ПОЛ КАБИНЫ И КОРПУС (ДЛЯ ПЕРЕДН. ОТВАЛ) ОПЦИОННЫЕ КОМПОНЕНТЫ

Схема запчастей Komatsu PC60L-5 - ПОЛ КАБИНЫ И КОРПУС (ДЛЯ ПЕРЕДН. ОТВАЛ) ОПЦИОННЫЕ КОМПОНЕНТЫ
FIT
1:1
100%

Артикул

Название

Примечание

Количество

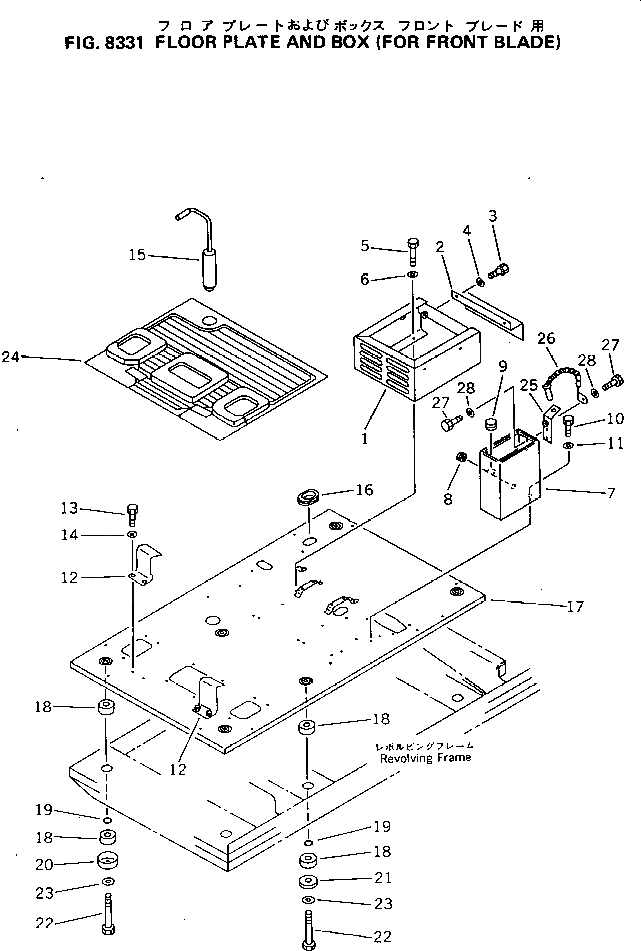
1

20X-54-23140

BRACKET

2

21K-54-25211

COVER

3

01010-51016

BOLT

4

01643-31032

WASHER

5

01010-51230

BOLT

6

01643-31232

WASHER

7

201-910-5730

BOX

8

08037-01008

GROMMET

9

09415-02512

CAP

10

01010-51020

BOLT

11

01643-31032

WASHER

12

203-43-42573

BRACKET

12

203-43-42572

BRACKET

13

01010-51025

BOLT

14

01643-31032

WASHER

15

203-54-41412

PIN

16

176-911-4160

GROMMET

17

201-910-5710

FRAME,FLOOR

18

203-54-21110

CUSHION

19

07000-03025

O-RING

20

201-54-21860

COLLAR

21

205-54-51950

PLATE

22

01010-51675

BOLT

23

01643-31645

WASHER

24

203-54-41382

MAT,FLOOR

25

201-910-5741

BRACKET

26

20S-43-12160

LOCK

27

01010-51020

BOLT

28

01643-31032

WASHER

Выбрано товаров: 29